一、证券市场回顾
同花顺数据显示,5月27日上证综指日内上涨1.14%,收于3124.04点,最高3125.51点;深证成指日内上涨0.88%,收于9507.75点,最高9511.14点;创业板指日内上涨0.68%,收于1830.96点,最高1832.82点。
二、ETF市场表现
1、股票型ETF整体市场表现
昨日股票型ETF收益率中位数为0.95%。其中按照不同分类,规模指数中易方达上证科创板50ETF收益率最高,为1.59%;行业指数中国泰中证全指集成电路ETF收益率最高,为3.14%;策略指数中南方富时中国国企开放共赢ETF收益率最高,为1.83%;风格指数中富国中证价值ETF收益率最高,为1.55%;主题指数中招商中证半导体产业ETF收益率最高,为3.95%。

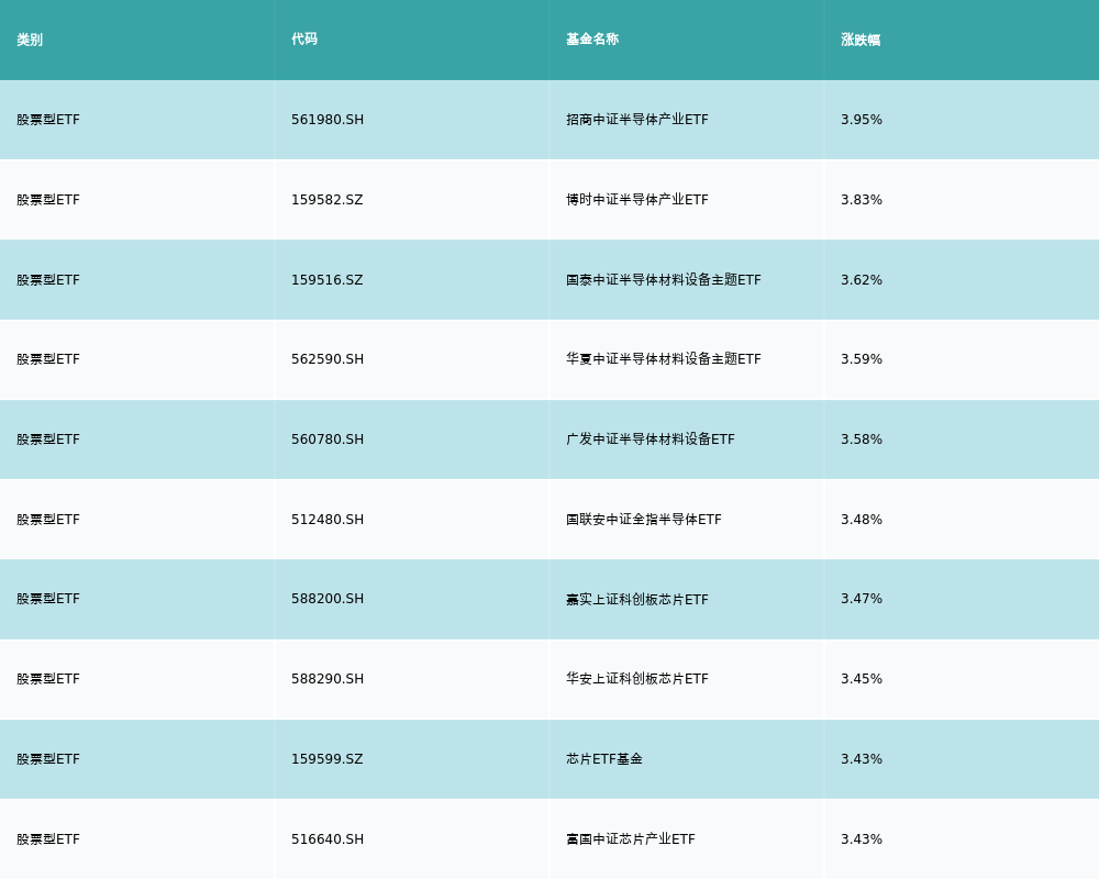
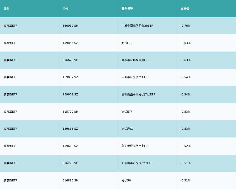
2、股票型ETF涨跌幅排行
昨日股票型ETF涨幅最高的3支ETF及其收益率分别为:招商中证半导体产业ETF(3.95%)、博时中证半导体产业ETF(3.83%)、国泰中证半导体材料设备主题ETF(3.62%)。涨幅前10详情见下表:

昨日股票型ETF跌幅最大的3支ETF及其收益率分别为:广发中证光伏龙头30ETF(-0.76%)、影视ETF(-0.63%)、国泰中证影视主题ETF(-0.63%)。跌幅前10详情见下表:

3、股票型ETF资金流向
昨日股票型ETF资金流入最多的3支ETF及其流入金额分别为:华夏上证科创板50成份ETF(流入13.05亿元)、华泰柏瑞沪深300ETF(流入12.68亿元)、易方达沪深300ETF发起式(流入11.17亿元)。资金流入前10详情见下表:

昨日股票型ETF资金流出最多的3支ETF及其流入金额分别为:易方达上证50ETF(流出4.51亿元)、南方沪深300ETF(流出1.11亿元)、国泰上证综合ETF(流出0.76亿元)。资金流出前10详情见下表:

三、机构观点
平安证券:看好半导体行情复苏及AI算力产业链两条主线
平安证券认为,当前消费电子有所回暖,半导体国产化进程持续推进,此外,AI带来的算力产业链也将持续受益,半导体行业当前处于周期筑底阶段,待下游行情复苏,将推动半导体新一轮上升周期,看好行情复苏及AI算力产业链两条主线。
国金证券:大基金三期落地,看好半导体设备/零组件加速国产替代
国金证券指出,大基金三期金额创新高,看好半导体设备国产化机遇。其中,光刻机是半导体设备中最昂贵、最关键、国产化率最低的环节。光学系统是光刻机的核心,光刻机制程越小,对光学系统的精度要求越高,目前仅有少数公司(德国蔡司、日本佳能、尼康)具备光刻机超精密光学系统供应能力,看好国产光刻机光学、量/检测等环节投资机会。此外,看好零组件环节随大基金落地而带来机遇。在自主可控加速背景下,随着下游国产设备厂商崛起,国内半导体零组件优质厂商有望复制国产半导体设备公司的加速渗透路径,迎来份额和业绩的加速期。

