21世纪经济报道记者庞华玮 广州报道
6月29日,券商“一哥”中信证券公告,放弃华夏基金管理有限公司10%股权优先购买权。
在券商大力扩展发展资管业务的背景下,这一选择引起业内关注。
有业内人士分析,中信证券放弃优先购买权背后原因,可能是中信证券已是华夏基金的控股股东,不需增持股权;或认为交易对价太高;又或是考虑与计划入股的下家实现双赢。
值得一提的是,拟协议转让华夏基金10%股权的天津海鹏,业内猜测,背后或有春华资本和胡祖六的身影,不过该猜测尚未得到对方证实。
缘何放弃优先购买权
中信证券表示,日前,公司收到天津海鹏科技咨询有限公司(以下简称“天津海鹏”)的来函,拟协议转让其所持有华夏基金10%的股权,拟交易对价为4.9亿美元,约合人民币32.64亿元。经公司董事会审议,决定放弃标的股权的优先购买权。

根据相关规定,中信证券作为华夏基金股东,享有标的股权的优先购买权。
但中信证券表示经综合考虑,公司拟放弃标的股权的优先购买权,暂不考虑增持华夏基金股权。
公开资料显示,华夏基金第一大股东是中信证券,持有华夏基金62.2%股权。
而此次涉及到的天津海鹏,持有华夏基金10%股权,是第四大股东。此次天津海鹏拟协议转让其所持有华夏基金10%的股权,相当于“清仓”。
值得关注的是,天津海鹏背后有著名经济学家、春华资本集团的创始人胡祖六的身影。
天津海鹏有5大股东,分别为瑞驰二号(天津)投资中心、瑞驰一号(天津)投资中心、PV Capetown Investment Limited、春华秋实(天津)股权投资合伙企业、Hennessy Lane Limited。
此外,公开信息显示,胡祖六创始的春华资本旗下有两大私募基金:春华(天津)股权投资管理有限公司,一个是春华秋实(天津)股权投资管理有限公司,而后者就是天津海鹏的背后股东之一。


中信证券此次放弃优先认购权,引发不少猜想。
对机构来说,头部公募基金的股权吸引力不可谓不大。
作为头部公募机构,2021年末,华夏基金本部管理资产规模1.66万亿元。华夏基金非货公募管理规模5872亿元,位列同行第四。
公告显示,截至2021年末,华夏基金的总资产为162.95亿元。最近三年,华夏基金业绩出色,并快速增长。2021年华夏基金实现营业收入80.15亿元,同比大增44.7%;实现净利润23.12亿元,同比增长44.68%。
具体来说,2019年、2020年、2021年,其营业收入分别为39.77亿元、55.39亿元80.15亿元;净利润分别为12.01亿元、15.98亿元、23.12亿元。

华夏基金最近一次的股权变更,发生在2017年8月,当时外资大举增持,华夏基金的外资股东加拿大鲍尔公司,将持股比例从10%增至13.9%,加拿大鲍尔公司旗下公司麦肯齐投资公司,也收购了华夏基金13.9%的股权。
那么,既然华夏基金很有吸引力,中信证券为何放弃优先购买权?
对此,有业内人士分析,中信证券放弃华夏基金管理有限公司10%股权优先购买权可能有几方面原因:一是中信证券已是华夏基金的控股股东,没有必要再持续增持股权;二是本次拟交易对价32.64亿元,对中信证券来说价格可能过高;三是该交易可能已谈妥下家,并且下家的入股或将与中信证券实现双赢。
在公告中,中信证券表示,公司拟放弃标的股权的优先购买权,不影响公司对华夏基金的持股比例及对华夏基金的实际控制,不会对公司的经营产生实质性影响,不存在损害公司和其他股东合法权益的情形,符合公司及股东的整体利益。
基金公司股权变更频繁
除了华夏基金外,今年以来,基金公司股权的变更事件不少。
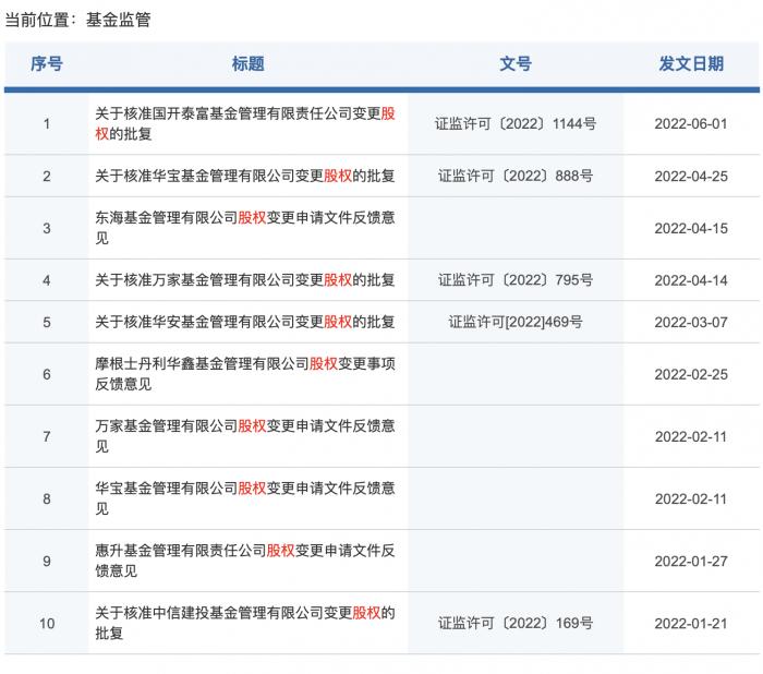
证监会官网信息显示,今年已有国开泰富基金、华宝基金、华安基金、万家基金、中信建投基金等多家基金管理人变更股权,并拿到监管机构许可批复,实现了公司股权结构的更迭。
此外,截至6月28日,今年以来还有东海基金、中海基金、摩根士丹利华鑫基金、惠升基金等多家基金公司股权及实际控制人变更申请已经收到了反馈意见。

还有另有一批基金公司拟变更5%以上基金公司股权及实际控制人的申请,仍在等待批复中。
此外,还有不少上市公司计划出售所持的基金公司股权。6月13日,经纬纺机发布公告,子公司中融信托拟以不低于15.04亿元的评估价格公开挂牌转让所持中融基金全部51%的股权。而6月24日,大恒科技公告,拟以不低于10亿元的价格出售所持有诺安基金20%的股权。
有出售者也有接盘者。目前有不少机构看好并布局公募基金股权市场,包括外资、券商、银行、保险、产业资本等机构加入竞争行列。
业内人士认为,公募基金的股权变更频繁与财富管理时代到来,各路资本纷纷布局公募基金行业有关。此外,基金管理人新规对“一参一控一牌”松绑,比如券商重新规划旗下公募牌照和资源,也引发公募股权结构调整。还有另外一个原因则是,不少中小公募基金也要增加新鲜血液,优化股权结构,因此引发股权变动。


粤公网安备 44010402000579号