
撰文丨张栩彬 陈晓平 覃毅
黄光裕的资本帝国,失去重要一角。
2月10日,黄实控的国美通讯,遭交易所摘牌。上交所基于连续20个交易日收盘市值低于5亿元,裁定其退市命运。

8日,国美通讯董事长王瀚召开临时股东大会,改聘会计事务所,安顿退市的后事。据估计,其退市殃及约1万余名股东。
国美通讯,一度是黄光裕实控的5大平台之一。
他另有国美零售、中关村科技、通通AI社交、拉近网娱4家上市平台,表现平平甚至惨淡。

这位前首富依然活跃,四处走动,希图在细分零售领域东山再起。从直播电商、家装行业,到“元宇宙”、卖车,黄光裕先后尝试不同的赛道,未有起色。
“他多次跨界不成功,是因为模式缺乏实质创新,比如真快乐App、折上折App、元宇宙等基本属于营销噱头。”家电行业分析师刘步尘告诉《21CBR》记者。
兵败通讯
国美通讯,是黄光裕旗下一块制造业务,相对冷僻。
在黄的布局中,其主营智能终端产品的研发、制造,现涉及摄像头、智能电表、3C 产品、穿戴项目等硬件,以OEM 和ODM为业务经营模式。
退市结局,并无意外。
根据预告,2024年,其营收体量非常微弱,只有3600万至4200万元,亏损为3700万至4500万元,本身已资不抵债。

黄光裕一度试图挽救平台。
他控制的国美信科技,在2024年6月中旬致函,称计划增持国美通讯股权,以示信心。
官方同步释放黄本人的战略规划。
“黄光裕指出,国美通讯将承担起平台赋能的重要角色,通过构建‘产业联盟’,为产业工厂提供全方位的支持与服务。”文稿中提到。
国美通讯“产业联盟”的新战略,由当时候选董事长王瀚领衔推进。
王瀚称,国美将在原有智能终端能力基础上,以“产业联盟”战略帮助大量工厂升级,“为加入的企业、供应链、地方政府及园区提供经营赋能和资本赋能”。
遗憾的是,其增持的额度,只有200万-400万之间,杯水车薪;且黄的影响力今非昔比,其释放的信息,完全淹没。
现在结局,多年前已经注定。
2016年,黄氏家族利用这一上市主体,用8亿现金收购德景电子100%股权,切入智能手机领域,试图打造自有品牌移动智能终端。
显然,他们低估了竞争的烈度,自2017年以后,国美通讯连续亏损,从未盈利过。

尤其2018-2020年,亏掉约14亿元,基本耗尽资本,收入一路跌到2023年的3900万元,其基本已名存实亡。
其间,黄光裕本人复出,国美零售迅速滑落,这家通讯公司再得不到切实支持。
四处寻机
丧失一个上市平台,黄光裕没有闲着,他在零售赛道四处寻找机会。
2024年12月,他宣布国美进军汽车经销行业,推出汽车流通全域运营平台“国美车市”,为用户及企业品牌双向赋能。
黄老板称,国美车市将联合导航平台、电商垂类平台、MCN机构等企业建立“卖车新势力”,他也喊出“18个月让国美车市盈利”的口号。

去年6月初,即有消息称,他已启动汽车零售项目,国美集团在推动汽车体验馆的加盟招商,号称与数十家汽车品牌车源渠道有合作意向。
《21CBR》发现,国美车市官微“国美智能汽车体验馆”,只在年终岁尾有更新,迄今1个多月已无音讯。
“国美想在汽车经销行业做大,需要跑通自己的模式。”
在汽车经销领域专业人士吴青看来,相较家电,汽车行业更复杂,对场地、售后、体验的要求更高,主机厂选择经销商合作伙伴时,也更慎重。
2024年以来,黄一直有各种动向传出。
去年4月的一个晚上,他来到长沙,带着团队,悄然造访中国最大的硬折扣超市连锁企业——乐尔乐。双方闭门会谈近三个小时,直至凌晨1点多才结束。
乐尔乐名气不大,在北上广一线城市的门店较少,体量已很可观,销售规模号称超400亿。单单2023年,其新增门店1800多家,闭店率不到2%。
“1-1.5年间就能回本。”有乐尔乐加盟商称。轻资产、见效快,这种项目正是黄光裕渴求的。
“和国美处在双向熟悉的阶段,框架协议已经签订,落地的合作方案正在探讨中。”乐尔乐集团副总裁车海燕透露说。只是,未见下文。
黄也有意入局即时零售赛道。
去年4月,国美在杭州发布旗下“国美即时仓”“国美便利店”以及即时零售四驱链模型。

据国美会上公布的数据,其已与大约180家供应商建立合作关系,其中品牌商占据70%份额,还与美团数字化系统牵牛花等机构签署合作协议。
这些动作均是“雷声大,雨点小”,目前看不到大量业务动作。黄和国美体系的财务状况,可能已不易支持宏大的布局。
棘手局面
黄光裕陷入困顿的,不只国美通讯一家。看似庞大的国美系,内里危机四伏:
拉近网娱,同样连年亏损,市值约2亿元,净资产1个亿;通通AI社交,常年营收规模只有8000多万元,净资产高达24亿元,应收款和无形资产超过14个亿,资产质量也不高。
一众公司中,中关村科技发展最好,其主要从事生物医药及健康品业务、养老医疗业务等,黄光裕其中持股约1/4。
2024年1-9月,营业收入达19.3亿元,净利有5000多万元,尚不足以扭转大局。

黄光裕最棘手的难题在于,旗舰国美零售已彻底沦落。
2023年,这项看家业务营收6.47亿元,全年亏损超过100个亿,截至2024年6月,净资产为-134.12亿元。可以说,起家的家电零售业务,几乎崩盘了。
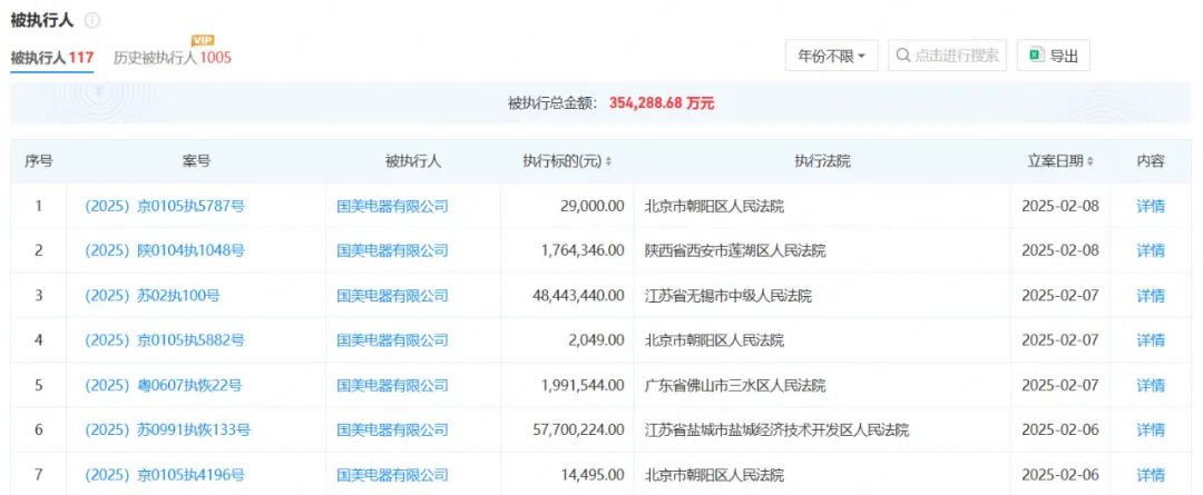
天眼查信息显示,截至2月10日,关联的国美电器有限公司,共有117条被执行人信息,执行标的合计35.43亿元。

欠薪、欠债、失信,一度成为困扰国美及黄光裕的关键词。
若不能妥善解决数十亿的债务问题,黄光裕难有机会取得供应商的信任,去试水新零售业务。
当然,黄还有些本钱。
从2021年底到2023年9月,黄光裕和妻子杜鹃,多次突击减持国美零售的股份,据统计,套现约20亿港元。
黄个人控制的国美地产控股,依然拥有鹏润大厦、国美商都等大型项目。

若能利用得当,找到好模式,或许能成黄老板翻身的本钱。他个人,于资本市场还有不错的嗅觉。
2024年8月,他宣布将“国美金融科技”,更名为“通通AI社交”,且发布多项利好,大幅提振信心。上市主体的市值,由低点4亿港元,升至15亿港元。
只是,纵观黄光裕的各种尝新项目,大多处于计划或者探索阶段,尚无一项,有规模化的体量。
刻下的竞争态势,已非黄光裕早年草创国美可比,只有沉下心,去钻研业务,才有可能真正翻身。
(记者杨松对本文亦有贡献)
图片来源:国美,除标注外

