南方财经记者 杨期鑫
2月24日晚,东阳光(600673.SH)发布公告称,公司正筹划通过发行股份的方式收购宜昌东数一号投资有限责任公司(以下简称“东数一号”)控制权,并同步募集配套资金。
公告明确,本次交易预计构成重大资产重组,同时构成关联交易,但不会导致东阳光的实际控制人发生变更。东阳光股票已于2月24日开市起停牌,2月25日继续停牌,预计停牌时间不超过10个交易日。
此次收购并非偶然,而是东阳光布局IDC(互联网数据中心)领域的关键后续动作。早在2025年9月11日,东阳光便披露,拟与控股股东深圳市东阳光实业发展有限公司(以下简称“东阳光集团”)及其他联合投资人组成买方团,以280亿元现金向贝恩投资收购秦淮数据中国100%股权,这一交易也一举成为中国IDC行业迄今为止规模最大的并购案。
在今年1月16日,该笔重磅收购迎来实质性突破,东阳光公告称已通过现金支付方式,以280亿元对价完成秦淮数据中国区业务的收购交割。其中,东阳光合计向东数一号出资34.5亿元,以参股身份参与其中。
而此次拟通过发行股份收购东数一号控制权,正是公司此前收购秦淮数据中国区业务经营主体的后续举措,核心目的便是将秦淮数据正式纳入上市公司体系,完成整个并购交易的闭环。
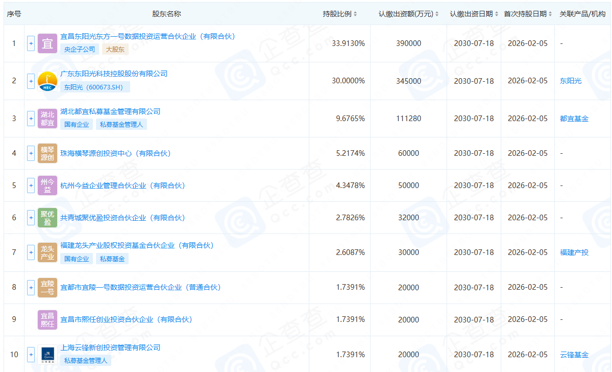
据悉,东数一号为收购秦淮数据专门设立的主体,其通过全资孙公司东数三号,间接控制着秦淮数据经营主体的100%股权。作为我国超大规模算力基础设施解决方案运营商,秦淮数据实力雄厚——中国信通院数据显示,其在国内IDC服务商中综合排名第二,仅次于万国数据(9698.HK),业务布局涵盖环首都、长三角、粤港澳、中卫及庆阳等核心区域,同时还是字节跳动的核心算力供应商。
图源:东阳光增资公告
具体来看,秦淮数据经营主体主要包括梧桐数基科技有限公司、河北思达歌数据科技有限公司、大同秦数信息技术有限公司、思达歌(上海)数据有限公司、南通思达歌数据科技有限公司、张家口思达柯数据有限公司、上海福来科斯数据科技有限公司、河北秦数信息科技有限公司等。
财务数据显示,秦淮数据中国区业务近年表现亮眼,其2024年营业收入60.48亿元,净利润为13.09亿元;2025年1-5月,营业收入为26.08亿元,净利润为7.45亿元。
企查查数据显示,截至目前,东数一号共有19家股东,除东阳光外,还囊括宜都市国资、佛山市国资、福建省国资等地方国资,以及云锋创投、平潭发展(000592.SZ)等机构及上市公司。
其中,第一大股东为宜昌东阳光东方一号数据投资运营合伙企业(有限合伙),持股比例33.913%,该企业由央企中国东方资产管理股份有限公司控股(持股51.2761%),东阳光集团则持有该合伙企业48.7187%股权。
图源:企查查
作为东数一号第二大股东,东阳光当前持股比例为30%。据此计算,东阳光与其一致行动人东阳光集团合计持股比例约为46.52%。
东阳光称,公司已与初步确定的交易对方签署了《收购意向协议》,本次交易的具体交易方式、交易方案、发股价格、交易作价等安排由交易各方后续协商确定。
东阳光集团董事长张寓帅表示,收购秦淮数据是集团主动融入国家“东数西算”战略、服务构建全国一体化算力网络的重要一步。未来,将重点推动双方在液冷材料、AIDC、清洁能源等领域的资源整合,共同打造“绿电—硬件—算力—AI—运营”一体化数字基础设施生态。
南方财经记者注意到,2025年底以来,东阳光集团已携手秦淮数据陆续与韶关、乌兰察布、宜昌等地市签署合作协议,加速布局绿色智慧算力中心。
资本市场也对东阳光算力业务布局前景表现出充分的认可与期待。2026年以来,东阳光股价表现强劲,wind数据显示,其累计涨幅高达68.52%。停牌前,东阳光股价报37.80元/股,总市值为1137.61亿元。
