近日,上海联合产权交易所“增资预披露”栏目披露了“上海垣信卫星科技有限公司增资项目”。项目拟募集资金总额和股权比例以正式披露为准,信息披露日期为3月9日到4月7日。

垣信卫星是“中国版星链”千帆星座的建设与运营商,规划星座规模达15000颗。垣信卫星曾于2024年完成我国商业航天领域金额最大的一笔融资——67亿元A轮融资,因此其新一轮融资备受关注。
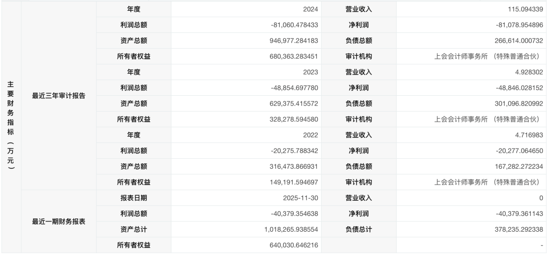
在项目基本情况中,垣信卫星披露了近三年及最新一期财务数据。2022年到2024年,公司资产总额稳步增长,分别为31.65亿元、62.94亿元、94.70亿元;到2025年11月30日,资产总计101.83亿元。
公司2022年、2023年营收分别仅约4.72万元、4.93万元,2024年增长至115.09万元,2025年前11月营收为0元。
2022年到2024年,公司亏损逐年近乎翻倍式扩大,分别为2.03亿元、4.88亿元、8.11亿元,2025年前11月亏损收窄至4.04亿元。近四年累计亏损规模接近20亿元。

按持股比例多少排序,垣信卫星股东依次为上海联和投资有限公司(49.8932%)、上海市信息投资股份有限公司(18.7008%)、国开制造业转型升级基金(有限合伙)(11.9194%)、上海甘石垣纬企业发展合伙企业(有限合伙)、上海微小卫星工程中心、上海新微科技集团有限公司等27个股东。
垣信卫星A轮融资由国开制造业转型升级基金领投,创始股东上海联和投资继续战略加持,国科资本、国盛资本、上汽恒旭资本、央视融媒体基金、原国泰君安、中科创星、亚信安全以及新鼎资本、高远资本、美蓝湖投资、金研资管、正和岛投资鼎力跟投。募集资金主要用于星座建设、技术研发、市场开拓及公司日常经营等。
垣信卫星董事长张琦近日表示:“千帆星座目前已发射108颗组网卫星,并初步建设了地面测运控网络,预计年内实现全球初步覆盖。”
目前,全球低轨卫星互联网产业正迎来爆发式增长。“作为新一代空间基础设施,我国低轨卫星互联网仍处于‘边建边用’的早期阶段,需要在确立市场地位、形成市场竞争力等方面加快进程,同时还需要在产业发展的广度和深度方面加快前瞻布局。”张琦说。
根据垣信卫星的规划,千帆星座在第一阶段建设期间将发射648颗卫星,将在地面产生的通信信号通过透明转发的方式“搬”到天上;千帆星座在第二阶段建设期间将新增发射648颗卫星,星座的整体规模达到1296颗卫星,第二阶段新增的卫星主要是实现通信信号星上转发。第一和第二阶段的星座建设以提供通信服务为主。第三阶段,千帆星座的星座规模数计划扩大至超过15000颗卫星,载荷功能将在这个阶段进一步扩展。
作者:刘怡鹤

