一、证券市场回顾
同花顺数据显示,昨日(07月12日,下同),上证综指日内下跌0.97%,收于3281.47点,最高3319.25点;深证成指日内下跌1.41%,收于12439.27点,最高12657.49点;创业板指日内下跌2.34%,收于2702.69点,最高2774.12点。北向资金由上个交易日的流出10.68亿元提升至流出42.51亿元。
二、ETF市场表现
1、股票型ETF整体市场表现
昨日股票型ETF收益率中位数为-1.22%。其中按照不同分类,规模指数中易方达上证中盘ETF收益率最高,为0.65%;行业指数中国泰中证全指建筑材料ETF收益率最高,为1.0%;策略指数中平安富时中国国企开放共赢ETF收益率最高,为3.68%;风格指数中交银深证300价值ETF收益率最高,为1.48%;主题指数中交银上证180公司治理ETF收益率最高,为2.49%。
2、股票型ETF涨跌幅排行
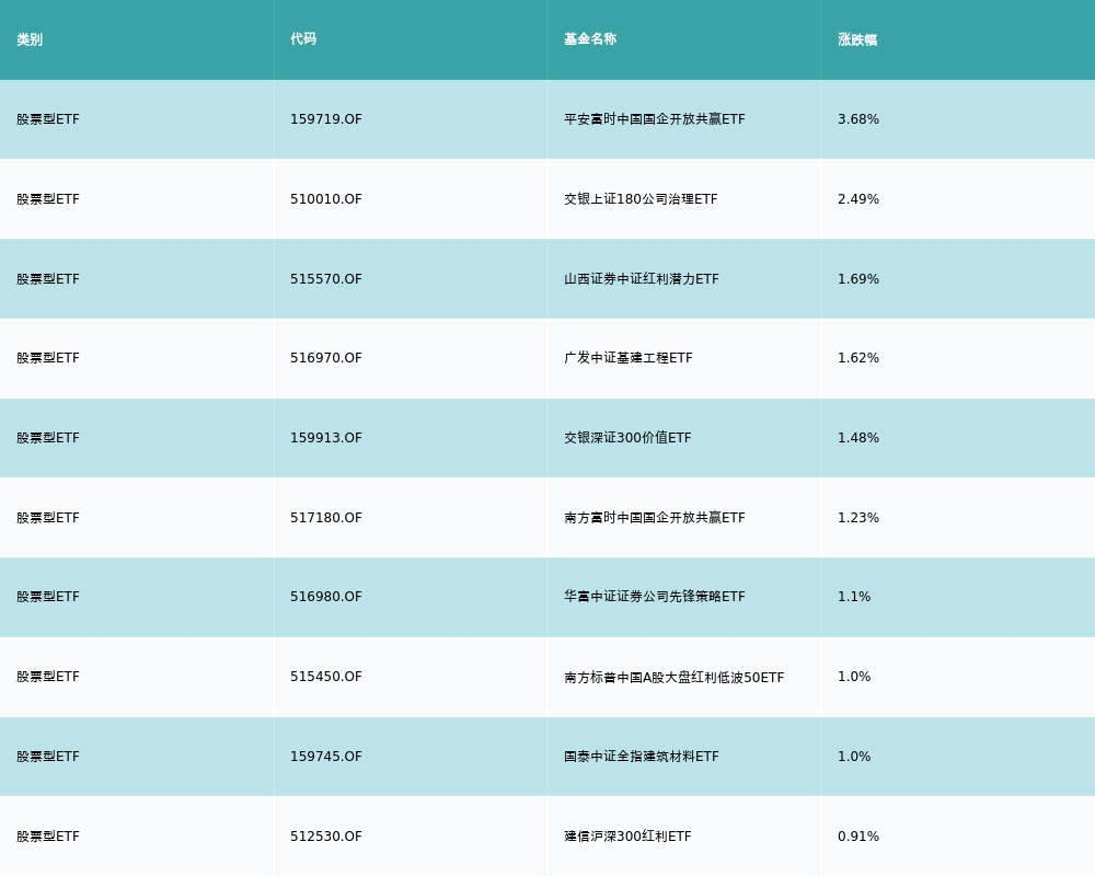
昨日股票型ETF涨幅最高的3支ETF及其收益率分别为:平安富时中国国企开放共赢ETF(3.68%)、交银上证180公司治理ETF(2.49%)、山西证券中证红利潜力ETF(1.69%)。涨幅前10详情见下表:
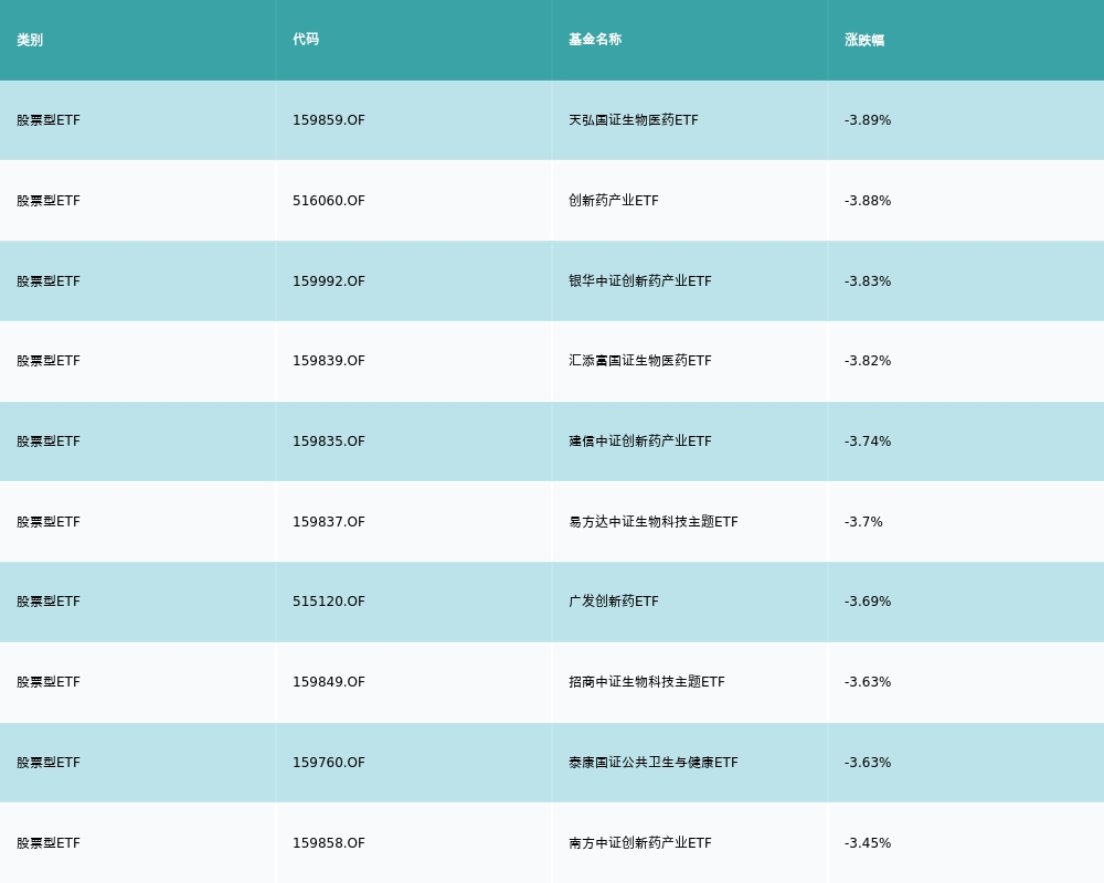
昨日股票型ETF跌幅最大的3支ETF及其收益率分别为:天弘国证生物医药ETF(-3.89%)、创新药产业ETF(-3.88%)、银华中证创新药产业ETF(-3.83%)。跌幅前10详情见下表:
3、股票型ETF资金流向
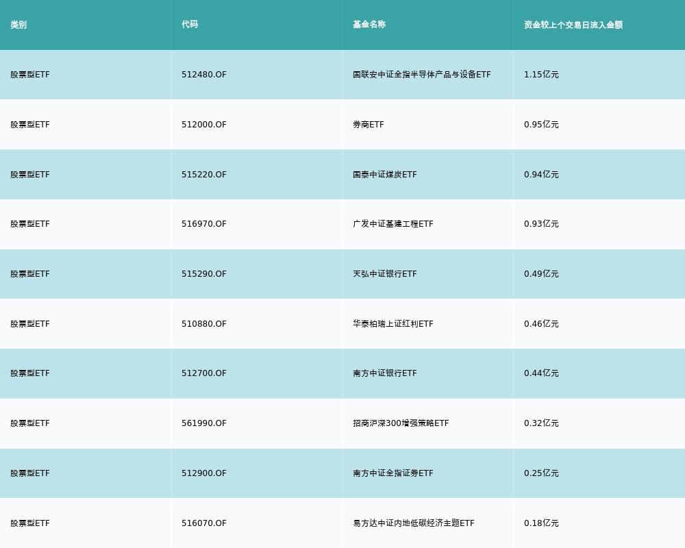
昨日股票型ETF资金流入最多的3支ETF及其流入金额分别为:国联安中证全指半导体产品与设备ETF(流入1.15亿元)、券商ETF(流入0.95亿元)、国泰中证煤炭ETF(流入0.94亿元)。资金流入前10详情见下表:
昨日股票型ETF资金流出最多的3支ETF及其流入金额分别为:华夏国证半导体芯片ETF(流出5.34亿元)、华夏上证科创板50成份ETF(流出4.41亿元)、华夏中证新能源汽车ETF(流出4.09亿元)。资金流出前10详情见下表:
三、机构观点
①基建投资和实物需求将继续处于加速期 地产基本面仍将延续改善
东吴证券认为,基建投资和实物需求继续处于加速期。稳增长主基调下政策利好持续出台落地,特别是国常会确定通过发行金融债券补充重大项目资本金,进一步破除资金面瓶颈,而建材高频数据也反映基建市政实物需求明显提升,预计基建投资和实物需求继续加速,新型基建是结构性亮点。此外短期地产销售数据虽然环比有所回落,但因城施策政策仍在持续落地,与按揭利率的下降共振。地产基本面仍将延续改善,地产销售逐季上行和房企资金面压力的缓解将利好房建链条的修复。
②重视基建开工端需求提升 继续看好建材行业底部复苏
中信证券认为,重视基建开工端需求提升。从政策角度看,国务院要求专项债8月底前基本完成使用。发行专项债的支付使用与工程进度相关,引导专项债资金加快使用也是在督促相应项目加速落地。继续看好建材行业底部复苏,判断6月为建材板块最差时刻,一是需求差,二是原材料成本高,且具有集中度提升逻辑的消费建材行业加速出清,下半年看好需求边际恢复,尤其是基建需求。







粤公网安备 44010402000579号