大消息传来!
股票型ETF规模首次突破万亿元!
Wind数据显示,截至9月7日,股票型ETF共计598只,资产净值合计达10053.7675亿元,也是在ETF大家族中规模“No.1”(截至当前,ETF总市场规模约为1.51万亿)。
这意味着越来越多的投资者正参与股票型ETF的投资中。

ETF基金市场概况,图片来源:Wind
那么,哪些基金公司管理的股票型ETF数量、规模较大?股票型ETF基金年内表现如何?如何投资股票型ETF呢?让我们一起来看看!
华夏基金股票型ETF数量、规模均一马当先
一般而言,一家基金公司在管股票型ETF基金的数量及规模相对较大,说明这家基金公司管理股票型ETF的经验相对丰富。所以首先让我们来看看哪些基金公司管理的股票型ETF数量、规模较大。
据Wind数据,截至2022年二季度末,共有9家基金公司在管股票型ETF个数超过20个:
其中,华夏基金在管ETF数量高达54个,在全部基金公司中排名第一;
易方达、国泰基金在管ETF个数分别为42个、36个,紧随其后。
南方基金、广发基金、嘉实基金同样以28个并列第四。
汇添富基金、华泰柏瑞、华宝基金等在管股票型ETF也在20个以上。

基金公司在管股票型ETF基金概况(截至2022年二季度末),图片来源:Wind
而从在管规模来看,截至2022年二季度末,共有5家基金的股票型ETF在管规模超过800亿元。其中华夏基金同样一马当先,在管股票型ETF规模高达1814.58亿元,是当前(截至2022年二季度末)唯一一家在管股票型ETF规模超过1000亿的基金公司。
“公募一哥”易方达基金在管股票型ETF规模也高达996.54亿元,距离1000亿元仅有一步之遥。此外,国泰基金、南方基金、华泰柏瑞在管股票型ETF规模也在800亿以上。
对比股票ETF管理规模、管理数量两个数据来看,华夏基金、易方达基金、国泰基金、华泰柏瑞等基金公司无论在管理股票型ETF的数量方面还是规模方面均较为靠前。
可以看出,这些基金在管理股票型ETF方面的经验相对丰富,而这亦可作为投资者选择股票型ETF时的一项重要指标。
煤炭、光伏、电力等能源相关ETF年内表现较为出色
据Wind数据,共有10只股票型ETF基金年内(截至2022年9月7日,下同)收益率超过10%,多为煤炭、光伏、电力等能源相关ETF。
其中,国泰中证煤炭ETF(515220.SH)排名第一,年内收益率高达46.63%。汇添富中证能源ETF(159930.SZ)以45.08%的年内收益率紧随其后。此外,广发中证全指能源ETF(159945.SZ)、华安中证光伏产业ETF(159618.SZ)两只基金的年内收益率也在30%以上。

股票型ETF年内收益率排名图,截至2022年9月7日,数据来源:Wind
让我们来看看,排名第一的国泰中证煤炭ETF。
国泰中证煤炭ETF是一只行业指数ETF,跟踪的是中证煤炭指数(399998.SZ),该指数年内涨幅高达41.27%。

中证煤炭指数行情图,图片来源:Wind
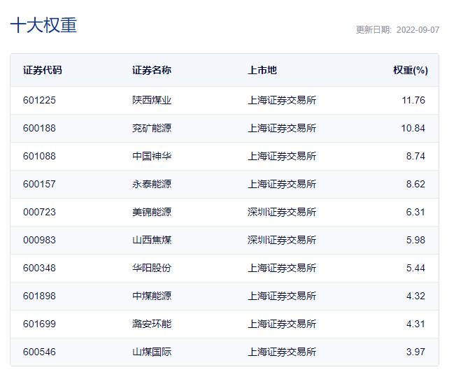
该指数目前有30只成分股,25只成分股年内出现上涨,5只下跌。其中兖矿能源(600188.SH)、山煤国际(600546.SH)、陕西煤业(601225.SH)三只成分股年内涨幅超过100%,而该三只成分股均为中证煤炭指数十大权重股。
此外,中证煤炭指数其他十大权重股中,华阳股份(600348.SH)、中煤能源(601898.SH)、山西焦煤(000983.SZ)年内涨幅也超过70%。

中证煤炭指数成分股年内表现排名,截至2022年9月7日,图片来源:Wind

中证煤炭指数十大权重股,截至2022年9月7日,图片来源:中证指数公司
如何选择股票ETF基金?
相较于股票,投资股票ETF具有什么优势呢?
一般来看,股票ETF兼具基金和股票的优点,可以为投资者提供方便快捷、灵活及费用低廉的投资渠道。
在投资股票ETF时,投资者以一笔交易就可直接投资一揽子股票,比投资单一股票风险要分散。
由于股票ETF走势与股市基本同步,投资者不需研究个股,只要判断涨跌趋势即可。
因此,若是对大盘或者某一行业表现长期看好,又想要追求获得大盘或者行业平均收益的投资者,适合选择股票ETF。
那么,对于普通基民而言,如何选择适合自己的股票ETF基金呢?以下四个指标或许能帮到您。
1、看规模
基金的规模直接反映了市场的认可程度。跟踪同一个指数的ETF基金规模可能差别会很大,因为每只基金都有相对固定的管理费、托管费等费用,基金规模越大,这类固定费用对其收益率影响越小,反之则越大。
另外ETF基金规模越大,也越能应对资金大额进出带来的冲击,运作更为平稳,二级市场交易的活跃度也更好。
2、看流动性
这里的流动性主要是指ETF基金在二级市场交易的活跃度,这点可以从日成交额指标来看。对于ETF来说二级市场的交投活跃度可是灵魂,交易量越大的ETF产品越容易买卖,越容易买卖就越吸引资金申购,形成正向循环。
3、看跟踪误差
跟踪误差指的是ETF基金涨跌幅与指数涨跌之间的偏差。偏差越小,基金和指数的走势越贴合,这个指标是检验一只成熟的ETF是否优秀的标准。
4、看基金公司
在挑选ETF时,我们一般可以选择ETF管理规模更大、经验更丰富、在ETF产品布局和运营管理更完善的基金公司。
此外,对于没有股票账户、希望通过定投把握长期投资回报的小伙伴而言,也可以选择相关ETF的联接基金。
它以目标ETF作为主要投资标的。目标ETF基金赚钱,ETF联接基金跟着赚钱,反之亦然。
它的投资门槛很低,最低1元起投。很适合资金量少的投资者间接投资ETF。


