一、证券市场回顾
同花顺数据显示,(10月11日,下称昨日),上证综指日内上涨0.12%,收于3078.96点,最高3095.66点;深证成指日内上涨0.35%,收于10084.89点,最高10164.07点;创业板指日内上涨0.8%,收于2003.9点,最高2021.11点。北向资金由上个交易日的流出54.71亿元降低至流出3.9亿元。
二、ETF市场表现
1、股票型ETF整体市场表现
昨日股票型ETF收益率中位数为0.28%。其中按照不同分类,规模指数中博时科创100ETF收益率最高,为1.54%;行业指数中香港医药收益率最高,为4.2%;策略指数中华夏创业板低波价值ETF收益率最高,为0.79%;风格指数中嘉实医药健康100ETF收益率最高,为2.04%;主题指数中富国中证沪港深创新药产业ETF收益率最高,为3.74%。

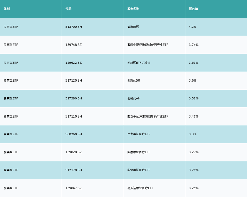
2、股票型ETF涨跌幅排行
昨日股票型ETF涨幅最高的3支ETF及其收益率分别为:香港医药(4.2%)、富国中证沪港深创新药产业ETF(3.74%)、创新药ETF沪港深(3.69%)。涨幅前10详情见下表:

昨日股票型ETF跌幅最大的3支ETF及其收益率分别为:富国中证军工龙头ETF(-2.0%)、国防ETF(-1.9%)、油气ETF(-1.5%)。跌幅前10详情见下表:

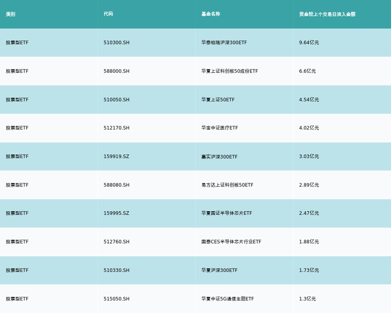
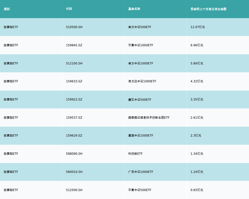
3、股票型ETF资金流向
昨日股票型ETF资金流入最多的3支ETF及其流入金额分别为:华泰柏瑞沪深300ETF(流入9.64亿元)、华夏上证科创板50成份ETF(流入6.6亿元)、华夏上证50ETF(流入4.54亿元)。资金流入前10详情见下表:

昨日股票型ETF资金流出最多的3支ETF及其流入金额分别为:南方中证500ETF(流出12.07亿元)、华夏中证1000ETF(流出6.96亿元)、南方中证1000ETF(流出5.84亿元)。资金流出前10详情见下表:

三、机构观点
国联证券:看好长期有竞争力的赛道如创新药
国联证券认为,医药反腐对产业和市场情绪的影响已逐步消化,叠加市场整体处于中长期历史底部,我们看好长期有竞争力的赛道如创新药,并建议寻找边际上有改善的个股。10月ESMO会议上将有多家药企披露临床新药数据。
太平洋证券:创新药关注管线临床价值已被验证的标的
太平洋证券认为,创新药需更加重视管线的循证医学证据,关注管线临床价值已被验证的标的。监管政策正合力加速创新药行业的改革,医疗反腐和行业出清有望消弭低质量内卷,利好优质管线和研发能力强的标的。相关政策包括但不限于:1)近期医疗反腐对带金销售的重点打击;2)药监部门发布多项创新药研发指导原则,包括要求3期临床使用阳性药物或最佳SOC作为对照、NDA申请应纳入风险/收益总结等,逐步收紧创新药品上市标准;3)上交所科创板监管逐渐加强对拟上市药企自主研发硬实力的要求。我们认为创新药投资应回归药品的临床价值,建议关注已被验证解决临床未满足需求或存在出海预期的标的。

