近日有网友发现,“交个朋友”旗下的直播间售卖一款名为KABASHA品牌的椰子鞋,其外观与阿迪达斯官方出品的Yeezy系列相似。
KABASHA椰子鞋为莆田鞋
这款被网友质疑为假货的椰子鞋,页面显示售价仅158元,而阿迪达斯官网同款Yeezy鞋售价为777元。同时,直播间的观众发弹幕描述其为“大牌设计”。

8月16日,南财快讯记者在“交个朋友”直播间相关店铺已找不到该品牌的椰子鞋商品。但第三方平台的数据显示,“交个朋友”相关店铺曾出售过该商品,且销售额非常高。
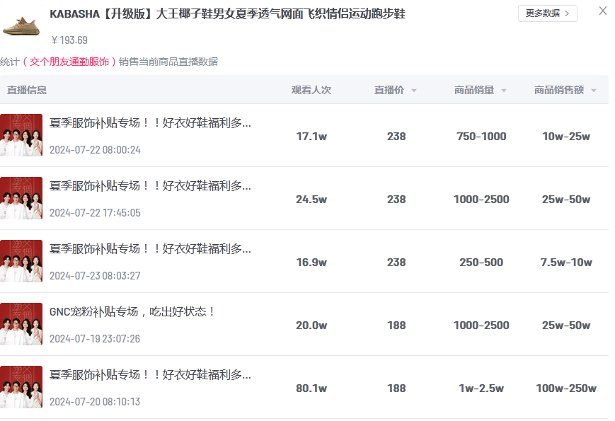
以7月20日上午8时的一场直播为例,KABASHA【升级版】大王椰子鞋售价193.69元,商品销售额达到100万元至250万元。
那么,这款KABASHA品牌是什么来历呢?某电商平台官方旗舰店客服回复表示,KABASHA是自主品牌,旗下椰子鞋属于莆田鞋的公版(即无其他品牌logo的鞋款)。
KABASHA椰子鞋是否有侵权嫌疑?南财快讯记者以消费者身份咨询“交个朋友”直播间相关店铺客服,客服表示,合作商承诺产品均来自官方正规渠道采购、保证官方正品。在上播前也对合作商的授权资质、商品的采购链路进行了严格核实。
“交个朋友”直播间所售商品被质疑早有先例
2020年11月28日,“交个朋友直播间”销售了“皮尔卡丹”品牌羊毛衫,其后有消费者反馈怀疑收到的衣服不是纯羊毛,是假货。12月15日,“交个朋友”发布微博称,所售的“皮尔卡丹”品牌羊毛衫为非羊毛制品。
此外,“交个朋友”还曾因违规发布广告被罚。今年4月份,北京交个朋友数码科技有限公司因违法发布医疗、药品、医疗器械广告,被上海市市场监督管理局罚款29.29万余元、没收广告费用29.29万余元。

