12月31日,中国音乐著作权协会(简称“音著协”)发文称,腾讯音乐娱乐集团因未经许可使用音著协管理的音乐作品,再被法院判决认定侵权。
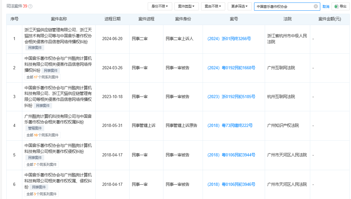
截至2024年12月19日,就音著协诉广州酷狗计算机科技有限公司(以下称“酷狗音乐”)侵害音乐作品信息网络传播权纠纷一案,音著协收到了广州知识产权法院的二审判决书(2024粤73民终404、405、406、408、409、410、1534-1537、1539、1540号),全部判决驳回酷狗音乐上诉,维持原判。
一审法院认定:酷狗音乐侵犯了音著协对涉案歌曲享有的信息网络传播权,依法应当承担相应的侵权责任。
关于赔偿标准,一审法院认为,音著协是经国家版权局正式批准成立的我国唯一音乐作品著作权集体管理组织,依法对音乐作品的著作权实施集体管理。随着音乐产业的发展,在数字音乐行业,侵权成本和技术门槛越来越低,著作权人对自己作品的控制力进一步下降。酷狗音乐作为国内主流音乐平台,本应积极参与构建健康、和谐的数字音乐产业生态圈,建立符合市场规律的数字音乐版权授权和运营模式,但却在与音著协的合作合同到期后,未经许可使用由音著协进行集体管理的多首歌曲,主观过错较明显。一审法院就上述案件,判决酷狗音乐向音著协赔偿经济损失共计近22万元人民币。
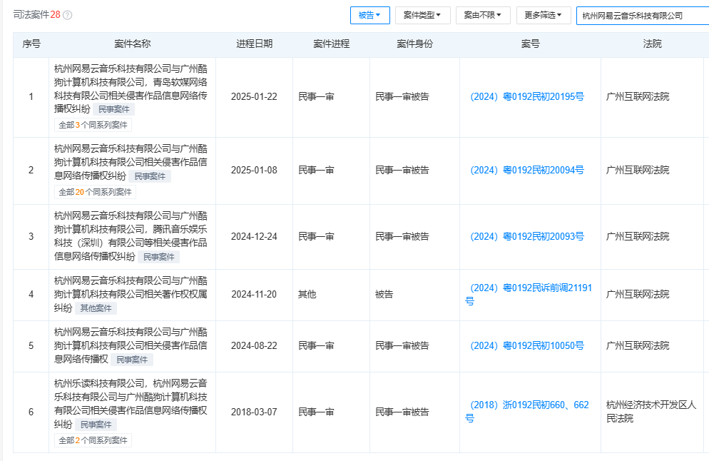
图片来源:天眼查
南财快讯记者注意到,酷狗音乐除了被音著协提起诉讼外,同行业公司也向其提起诉讼。天眼查显示,网易云音乐多次向酷狗音乐提起诉讼,涉及事项包括著作权权属纠纷、侵害作品信息网络传播权纠纷等。
图片来源:天眼查
不过,腾讯音乐与网易云音乐的恩怨由来已久,11月25日,网易云音乐在新浪微博发布一篇公开信,喊话QQ音乐停止“抄袭式更新”,并对比了QQ音乐和自家产品在产品功能、界面设计上的雷同。
同属腾讯音乐娱乐集团的酷狗音乐在微博隔空回击了网易云音乐:“播放器背景的DIY功能不是我先做的么”“我这个算什么式创新?”暗讽网易云音乐也并不“清白”。
(声明:文章内容仅供参考,不构成投资建议。投资者据此操作,风险自担。)

