阿维塔申请注册多枚“界”字辈商标,引发外界关注。
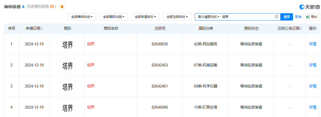
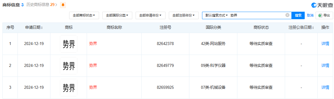
天眼查知识产权信息显示,近日,阿维塔科技(重庆)有限公司申请注册多枚“塔界”“势界”商标,国际分类涉及机械设备、网站服务、科学仪器等,当前商标状态均为等待实质审查。

图片来源:天眼查截图
此前,阿维塔官方表示,全面深化与华为的战略合作,投资华为子公司“引望”,成为引望公司第二大股东。
目前,阿维塔顺利完成C轮融资,规模超110亿元。据重庆商报报道,阿维塔科技总裁陈卓表示,此次融资不仅将为企业后续的产品研发、市场营销和产能扩张提供有力的资金支持,也将更进一步推动其与华为在联合产品定义、设计、品牌营销等方面的深化合作。
天眼查显示,阿维塔科技成立于2018年,曾用名:长安蔚来新能源汽车科技有限公司。其主要股东包括重庆长安汽车股份有限公司、宁德时代新能源科技股份有限公司、重庆承安私募股权投资基金合伙企业(有限合伙)、南方工业资产管理有限责任公司等。
图片来源:天眼查截图
据了解,华为介入汽车行业最深的模式是智选模式,目前华为分别与赛力斯、奇瑞、北汽和江淮汽车,成立了问界、智界、享界和尊界四大品牌,这“四界”组成了鸿蒙智行联盟。官方数据显示,2024年鸿蒙智行全年累计交付约44.50万辆,其中12月单月交付约4.95万台,创月交付量新高。
值得注意的是,华为一共申请了近200个带有“界”字的商标,包括仙界、傲界、华界、合界、极界、御界等。
图片来源:鸿蒙智行微信公众号
本文综合天眼查、阿维塔微信公众号、鸿蒙智行微信公众号、重庆商报、公开信息

