“叠甲”无用!继雷军开车直播间被封后,今天轮到余承东。
1月27日,华为常务董事、终端BG董事长、智能汽车解决方案BU董事长余承东上午10:00开启“自驾回安徽老家过年”的直播,直播平台包括微博、抖音等。

值得注意的是,或许是吸取了雷军直播间被封的教训,鸿蒙智行官方直播间“叠了甲”,直播画面的左下角写有几行小字,包括广电备案号,以及“固定机位拍摄,安全驾驶,内容提前录制,非直播”字样。

不过有网友发现,车上中控屏时间比实际时间快了7分钟。还有微博博主查询发现,余承东直播画面标注的备案号在“全国网络视听平台信息管理系统”里查不到。

今日中午 12:00 左右,余承东自驾到达终点一门店,准备结束直播之际,其抖音直播间被封禁,直播停止。截至直播结束,共有847万人观看。


1月15日,余承东曾在个人社交账号发文称:“这个春节打算开S9全程智驾回安徽老家,陪年迈的父母一起过年!”

据悉,享界S9是华为与北汽合作的智慧旗舰轿车,于去年8月6日上市,共推出两个版本,MAX后驱长航版本售价39.98万元,Ultra四驱旗舰版本售价44.98万元,定位于大型纯电行政轿车。
12月12日晚,华为常务董事、终端BG及智能汽车解决方案BU董事长余承东开通抖音账号,正式入驻。14日,余承东发布首条视频,15日上午,余承东粉丝已超过两百万。
疑似举报截图曝光
关于开车直播的问题,抖音客服表示,为了安全考虑,不建议在开车的时候直播,并称“可以标注一下,直播人非驾驶员就可以了。只要驾驶人不是本人就可以(直播),然后直播间标注一下就行,一定要在安全的情况下直播。”
据IT之家报道,网上流传出了多张关于举报余承东抖音直播的截图,均显示在中午 12:00 左右出现举报结果通知:“你举报的用户【余承东】的直播内容,经我们核实,存在违规行为,已对用户进行【中断直播间】处理,感谢你的监督!”


不久前雷军直播间被封
据此前报道,小米公司创始人雷军1月25日曾在抖音平台进行了一场龙年收官直播。然而直播过程中发生了一段插曲:当日下午1点48分,雷军的直播间突然遭到封禁。(回顾:雷军直播间,突然被封禁!)

有网友于当日下午1点44分发布视频称,已经举报雷军在直播过程中存在一边开车一边直播的行为。下午1点57分,该网友再次发布作品,为一张“举报结果通知”的截图,内容为“你举报的用户【雷军】的直播内容,经我们核实存在违规行为,已对用户进行【中断直播间】处理,感谢你的监督!”

鸿蒙智行“第五界”要来了?
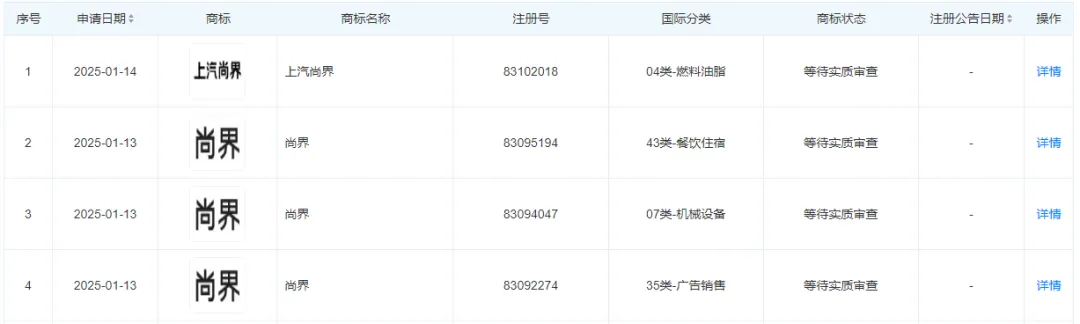
近期,此前被传出将与华为合作的上汽集团(600104.SH),正在申请“界”字辈商标。
天眼查显示,1月13日至1月14日,上海汽车集团股份有限公司新提交“尚界”“上汽尚界”等多枚商标,国际分类涉及机械设备和广告销售等,商标状态均为等待实质审查。(详情:鸿蒙智行“第五界”要来了?上汽申请“尚界”等商标,此前被传与华为密切接触)

去年年底以来,上汽正与华为进行密切接触的消息便开始广泛流传。目前,华为与赛力斯、奇瑞、北汽和江淮汽车四家车企合作智选车模式,分别推出了问界、智界、享界和尊界四大品牌,“四界”此后升级成鸿蒙智行联盟。
官方数据显示,鸿蒙智行2024年累计交付新车超44万台,12月单月交付近5万台,创月交付量新高。其中问界M9上市12个月累计大定突破20万辆,问界新M7年度累计交付突破19万辆,智界R7上市累计交付近3万辆, 享界S9系列交付7494辆,连续5个月成为40万元以上纯电豪华轿车销冠。
来源:21财经客户端、南财快讯(见习记者杨万林)、新浪科技、IT之家

