史玉柱名下巨人投资的股权再次被冻结。
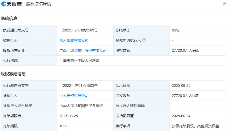
天眼查显示,近日,巨人投资有限公司新增一则股权冻结信息,股权所在企业为广西北部湾银行股份有限公司,冻结股权数额约2.77亿元,冻结期限自2025年6月25日至2028年6月24日,执行法院为上海市第一中级人民法院。
巨人投资有限公司成立于2001年4月,法定代表人为史玉柱,注册资本约1.17亿人民币,经营范围包括实业投资、投资管理、资产管理等,由史玉柱、牛金华分别持股约97.9%、约2.1%。
需要指出的是,这并非巨人投资的股权首次冻结,2021年、2023年、2024年相关事项均有公示,涉案金额为1.14亿元。
据财经网综合报道,近年来,关于史玉柱或名下公司被执行的事情时有发生。自2021年起,史玉柱便因帮人担保屡遭股权冻结,涉及巨人投资、珠海巨人高科技、珠海绅士新技术等多家公司。
2024年11月,巨人投资有限公司、上海巨人投资管理有限公司也新增2条被执行人信息,执行标的合计8.7亿余元,执行法院为北京金融法院。
随后,巨人集团迅速回应了此事,称这是史玉柱帮朋友担保引起,相关方在做积极沟通,会妥善处理。

△巨人集团发言人、巨人网络品牌营销负责人马全智在社交媒体上回应
据澎湃新闻报道,2023年2月,史玉柱发表内部讲话,称自从巨人在美国2007年上市之后,自己逐渐就淡出第一线,退居二线,公司主要还是由团队负责运营。
“我整天就是不务正业,胡吃海喝的,到处去玩。现在回想下来,交了那么多朋友,100多个男性朋友,在外面胡吃海喝的。我们巨人集团(因为当年珠海巨人的影响)是不找朋友借钱的,也不找朋友担保。我一在酒桌上一喝,好,给这个人借钱,给那个人担保,这么一算十几年损失了好多钱。”最后,公司CEO刘伟看不下去,把他拉回来参与游戏业务。
21财经客户端综合自天眼查、澎湃新闻、财经网

