你有注意到吗?昨晚,赵露思发长文称“不用你们封杀我,我不干了”一事刷屏。沉默了一个晚上,其经纪公司终于回应了!
银河酷娱传媒发文
8月3日,@银河酷娱传媒 发文:昨日获悉赵露思女士所发表的微博内容,深感震惊和突然。
银河酷娱传媒表示,从不存在任何违法或违约之行为。尤其在赵露思女士生病之后,考虑到她的身心健康我司坚持以她本人的意愿为第一考虑,公司积极对外协调各项事务。公司深知,公众人物需谨言慎行,任何不理智的行为都可能损害艺人本人的正面形象,更可能对合作方造成巨大的不利影响。
银河酷娱传媒称,一直在默默地承受巨大的压力并尽最大努力地减少负面影响和降低损失。对于艺人提出的任何合理合法的要求,均会予以尊重井充分考虑。但希望赵露思女士后续勿再通过在互联网上发布语焉不详之内容的方式,引导公众对相关事实产生错误的猜测。

天津银河酷娱已成立9年
公开资料显示,天津银河酷娱目前旗下艺人有赵露思、李九霖、刘特、漆培鑫、张开泰、卢东旭、唐振超、熊万杨、杨可欣、范静雯、符淞等。
21热点观察室查询发现,天津银河酷娱文化传媒有限公司成立于2015年8月,法定代表人为吴晓珍,由北京博方融智投资有限公司、天津利合文化传播合伙企业(有限合伙)等共同持股。


图源:天眼查
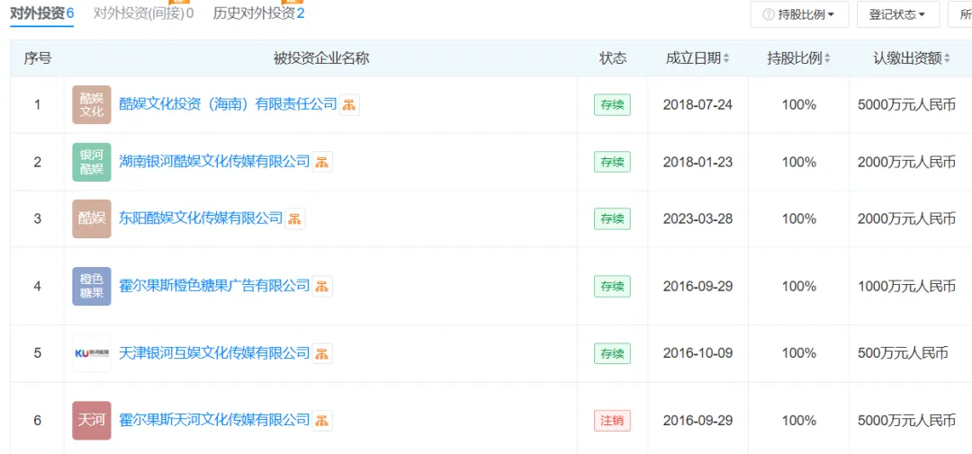
该公司对外投资有湖南银河酷娱文化传媒有限公司、东阳酷娱文化传媒有限公司等6家公司。

图源:天眼查
事件回顾
8月2日,演员赵露思在微博中发出长文控诉经纪公司银河酷娱,还发出了重度焦虑症状、重度抑郁症状的测评报告。
赵露思表示,银河酷娱在她治疗期间曾承诺为她被迫取消的代言负责,最后却直接从她工作室的账户中划走205万元;再三沟通也不愿意归还工作室运营权,团队工作人员缺失;等待八个月都没有解决剧组解散相关问题,最后由艺人进行赔偿,并以可能遭“封杀”为警示;解约协商无果,接下来将交由警方处理。
早在7月8日,便有网友发现赵露思在某社交平台的主页上,没有银河酷娱MCN了,这一举动引发了解约猜想。据当时媒体报道,有知情人表示:“没有解约,合约到2030年。”
公开资料显示,赵露思,1998年11月9日出生于四川省成都市,代表作有《凤囚凰》《哦!我的皇帝陛下》《传闻中的陈芊芊》《长歌行》《且试天下》《星汉灿烂》等。

图源:@赵露思的微博
出品:21财经客户端 21热点观察室

