企查查APP显示,近日,法院对大连万达集团股份有限公司名下的上海万达小额贷款有限公司70%的股权拍卖进行预告,评估价7.3亿余元,起拍价5.1亿余元,起拍时间:2026年1月29日至2026年2月1日。


案件流程显示,此前万达地产集团有限公司、大连万达集团股份有限公司等已因此案被强制执行12亿余元。企查查信息显示,大连万达集团股份有限公司成立于1992年9月,注册资本10亿元,王健林担任法定代表人、董事长,受益股份达98%。

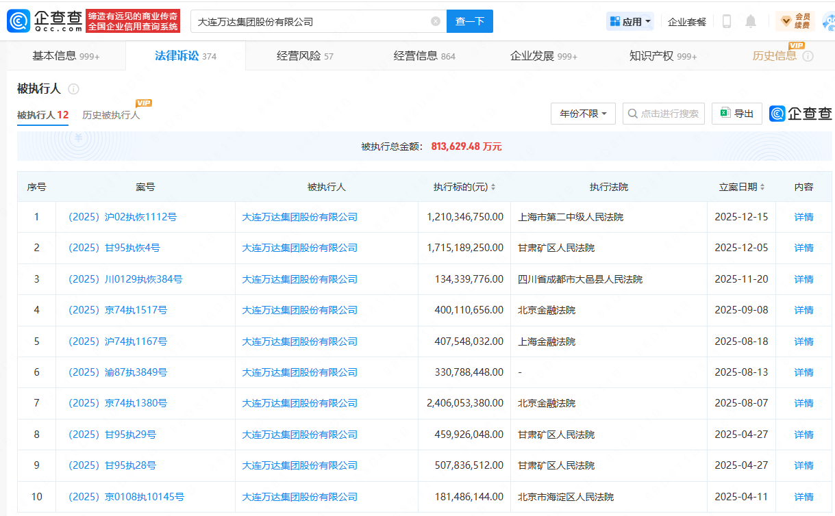
万达系2025年以来已多次成为被执行人。目前,万达集团存在12条被执行人信息,被执行总金额超81亿元。

此前,万达集团及其法定代表人王健林于9月28日被限制高消费,引发大量关注。次日,该“限高令”被取消。万达品牌部门相关负责人接受媒体采访时表示,此次事件系万达下属项目公司的经济纠纷,因执行层面的信息不对称所致,“算是误伤”。
目前,万达集团及其下属公司大连万达商业管理集团股份有限公司(以下简称为“万达商管”)负债较大。根据公告,万达商管的资产总计在2024年9月30日达到6140.47亿元,负债合计为2990.30亿元。
近年来,万达商管为缓解资金压力,不断出售资产。据不完全统计,2023年至2025年,万达累计出售超80座万达广场。今年5月份,国家市场监管总局的一则公示信息显示,大连万达商管旗下48家公司股权,将被太盟牵头的“财团”收购,接盘方还包括高和资本、腾讯控股、阳光人寿等,交易金额或达到500亿元。

