《热点Views》栏目出品
3月24日下午3时50分,知名教育博主张雪峰因心源性猝死抢救无效在苏州逝世,终年41岁。至此,这位“网红导师”的生命定格在了事业巅峰。

(图源:张雪峰老师微博)
短短两天前,他还在朋友圈晒出完成7公里跑步的动态。3月来,他的单月累计跑步里程已经超过70公里,看起来极度自律。一个充满活力的跑者猝然离世,令众多网友倍感惊讶和惋惜。
对此,上海市胸科医院院长侯旭敏指出,身体健康的个体并不存在猝死风险,任何发生猝死的患者往往存在基础性疾病。他建议在进行高强度剧烈运动前,最好进行心电图和心脏彩超等基础检查来筛查风险。
多年前,张雪峰曾在微博上发文称,“如果有一天,让我选择一种死法,我最希望的,是猝死”。如今,这一幕上演,一语成谶。

(图源:张雪峰老师微博)
张雪峰的突然离世,也将其庞大的商业版图推到聚光灯下。从一个普通的黑龙江小镇青年、考研辅导老师,到如今身价过亿的超级IP,张雪峰的商业版图早已突破了单纯的“讲台”。据新财富杂志报道,张雪峰曾在福州巡讲中自称:三家公司中一家即将上市,上市后变现能挣几个亿;第二家公司估值5至8个亿。
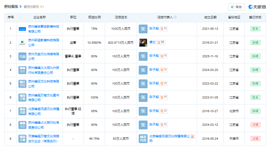
天眼查显示,张雪峰本名张子彪,目前是七家公司的股东,还在九家公司担任高管,涉猎领域涵盖教育、文旅、出版等等。
(图源:天眼查)
其中,教育是张雪峰名下的核心资产,其在苏州峰学蔚来教育科技有限公司的投资比例达75%。官网显示,苏州峰学蔚来教育科技有限公司即峰学未来教育科技有限公司(简称“峰学未来”),由张雪峰于2021年创立,致力于为万千高中生和家长解决新高考选科、高中学业规划、志愿填报、大学学业规划、实习就业等各方面问题。
其中,志愿填报是核心变现环节,并以“梦想卡”“圆梦卡”等形式推出。峰学未来APP显示,梦想卡和圆梦卡的售价分别为12999元和18999元。这一价格与2025年时一样,当时开售20分钟后,全国多数省份的名额就已售罄。

(图源:峰学未来APP)
除教育主业外,张雪峰还在不断探索边界。2023年以来,他开始涉足直播带货,且多场带货金额达数百万元。2024年,他开始布局研学业务,一款名为“青春研学季”的项目,6天5晚的售价为8999元。
不仅如此,张雪峰还涉足了半导体投资。据界面新闻报道,自2024年起,他以有限合伙人身份参与苏州本地股权投资基金,资金投向以集成电路为代表的硬科技企业。
这一切都建立在张雪峰的个人IP之上,全网数千万粉丝也成为了其商业版图的基石。目前,张雪峰在抖音平台的粉丝达2687.2万。
从寒门北漂到苏州富豪,张雪峰用41年走完草根逆袭、流量造富的传奇一生。他留下的不仅是争议与财富,更是个人 IP 型企业如何摆脱创始人依赖的行业命题。斯人已逝,其商业帝国能否平稳交接、持续运转,仍待时间检验。
