21世纪经济报道记者 韩利明
2026年4月1日,射频治疗仪、射频皮肤治疗仪类产品正式迈入强监管、高合规的发展新阶段。
根据《国家药监局关于进一步明确射频治疗仪类产品有关要求的公告》(2024年第84号)要求,自2026年4月1日起,《关于调整〈医疗器械分类目录〉部分内容的公告》(2022年第30号,下称“30号公告”)提及的射频治疗仪、射频皮肤治疗仪类产品,未依法取得医疗器械注册证的,不得生产、进口和销售。
30号公告明确,作用于人体皮肤及皮下组织,使人体组织、细胞发生病理/生理学改变,预期用于治疗皮肤松弛,减轻皮肤皱纹,收缩毛孔,紧致、提升皮肤组织,或者治疗痤疮、瘢痕,或者减少脂肪(脂肪软化或分解)等的射频治疗仪、射频皮肤治疗仪类产品,按照第三类医疗器械管理。
某医美平台相关负责人向21世纪经济报道记者表示,国家层面已释放极强合规信号,射频类治疗仪已明确纳入第三类医疗器械管理,2026年4月1日过渡期结束后将全面“持证上岗”,从源头封杀三无产品,政策合规已是行业不可逆转的大趋势。
在此背景下,射频医美器械的市场格局、价格走势与监管生态,将迎来哪些调整?
市场准入现状
第三类医疗器械是我国监管最严、准入门槛最高的医疗器械类别,其审批周期长、临床要求高、研发投入大,从启动临床试验到最终获批往往需要数年时间,需经过多轮专家评审与长期随访验证,以确保产品在临床场景中的安全性与有效性。因此,“械三证”不仅是合规底线,更是技术实力与市场竞争力的核心体现。
21世纪经济报道记者查询国家药监局官网了解到,德技(长沙)医疗器械科技有限公司于2021年11月获批的射频治疗仪,目前仍按第二类医疗器械管理,辅助用于减轻皮肤皱纹,注册证有效期至2026年11月3日。
按照30号公告要求,此类在30号公告发布前已取得第二类医疗器械注册证的产品,原注册证在有效期内继续有效,且在注册证有效期内生产的产品,可在产品使用期限内继续销售。
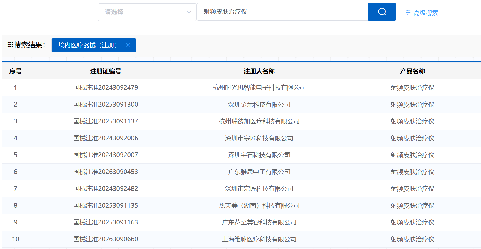
此外,目前国内已有杭州时光机、金茉科技、杭州瑞彼加医疗科技、深圳市宗匠科技、深圳宇石科技、广东雅思电子、热芙美、花至美容、维脉医疗、半岛医疗、无锡威脉通、普罗米修斯奇迹(深圳)医疗科技等企业获得射频皮肤治疗仪第三类医疗器械注册证。
图片来源:国家药监局官网
从使用场景来看,热芙美、半岛医疗、无锡威脉通、上海维脉医疗的产品获批用于医疗机构,由专业医务人员操作;杭州时光机、金茉科技、花至美容等产品则获批适用于家庭环境个人自行使用。
值得一提的是,2025年8月,爱美客完成对上海维脉医疗的并购,正式切入医美能量源设备领域。资料显示,上海维脉医疗旗下射频皮肤治疗仪在2026年3月获批械三证,该产品利用射频热效应减轻中上面部轻、中度皮肤皱纹,不可用于眼周、鼻部。
随着持证企业逐步增多,市场竞争趋于激烈,射频皮肤治疗仪价格是否将进一步下探?
在医疗美容场景中,上述医美平台相关负责人分析,以热玛吉为代表的射频项目市场总量仍在扩大,但增长逻辑发生转变。一方面,全民抗衰需求与下沉市场合规需求释放,消费群体持续扩容;另一方面,价格敏感型客群被黄金微针、童颜针等项目分流。不过,热玛吉在无创紧致、下颌缘提升、眼周年轻化等方面的独特优势,短期内难以被完全替代。
在家用美容仪市场,射频品类保持高速增长。据魔镜洞察与新华网联合发布的美容仪市场观察,射频类产品销售额同比增长202%,相关话题声量达8.55万,同比增长超15%,在美容仪技术声量中稳居首位。消费者对具备“可感知功效”的产品付费意愿提升,射频技术因长期抗衰认知与械三证合规背书,信任度显著高于其他品类。
而随着“械三证”全面落地执行,行业格局也进一步分化。美容仪市场观察显示,一方面,行业进入门槛大幅提升,未取得资质的中小品牌逐步被清退,头部效应持续加剧;另一方面,优先获批企业凭借“先发优势”,快速抢占射频美容仪主流市场份额,进一步拉大与后进者的差距。
监管持续加码
射频治疗仪、射频皮肤治疗仪监管趋严的背后,是行业早期野蛮生长暴露出的产品安全、质量不达标等突出乱象。
例如,公开资料显示,2021年“3·15”期间,中国检验检疫科学研究院与中国家电网联合开展了“家用美容仪比较试验”,对市面上的8款射频美容仪进行了温度、电器安全等方面的检测。其中,初普美容仪 Stop Eye测试不达标,在使用时温度最高超过60℃,存在很大程度的烫伤风险。
2022年8月,新基石(深圳)科技有限公司按照《消费品召回管理暂行规定》的要求,主动向国家市场监督管理总局报告了召回计划,召回2020年3月至2021年9月期间进口的初普牌第一代Stop Eye型号家用射频美容仪,涉及数量为182215台。
对企业而言,“械三证”落地执行的价值远超单纯的合规底线。作为第三类医疗器械,相关产品需通过严格的临床试验与安全性验证,其“械三证”的获批,也强化了企业的合规背书。
事实上,多地也出台相关政策支持合规企业发展。例如昆山市2026年1月1日起执行的相关实施细则,明确为获得电子类医疗美容产品三类医疗器械注册证的企业给予支持。
除了标准提升,地方监管部门也同步加大执法力度。2026年3月,汕头市市场监督管理局印发专项检查通知,在全市范围内开展医美行业医疗器械质量安全专项整治,行动持续至年底,覆盖医疗美容机构、生活美容机构、经营企业及临时经营场所,重点监管光电设备、注射用透明质酸钠、植入耗材等产品,严厉打击使用无证产品、非法经营、进货查验缺失、网络销售违规等行为。
此外,重庆市九龙坡区市场监管局联合渝中区市场监管局开展跨区域协同执法,对医美机构医疗器械使用环节进行专项检查,重点核查采购渠道、资质文件、储存管理、使用登记与维护保养,共检查医疗器械10余台,严查无证、过期及来源不明产品,督促机构落实质量安全主体责任。
回顾国内射频皮肤治疗仪行业的发展历程,是一部从“野蛮生长”向“合规深耕”演进的转型史。随着射频皮肤治疗仪纳入第三类医疗器械监管,行业进入中小品牌加速出清、头部企业聚焦研发的行业重塑期,合规化始终是推动行业迭代升级的核心分水岭。(实习生蒋雨桐对本文亦有贡献)
