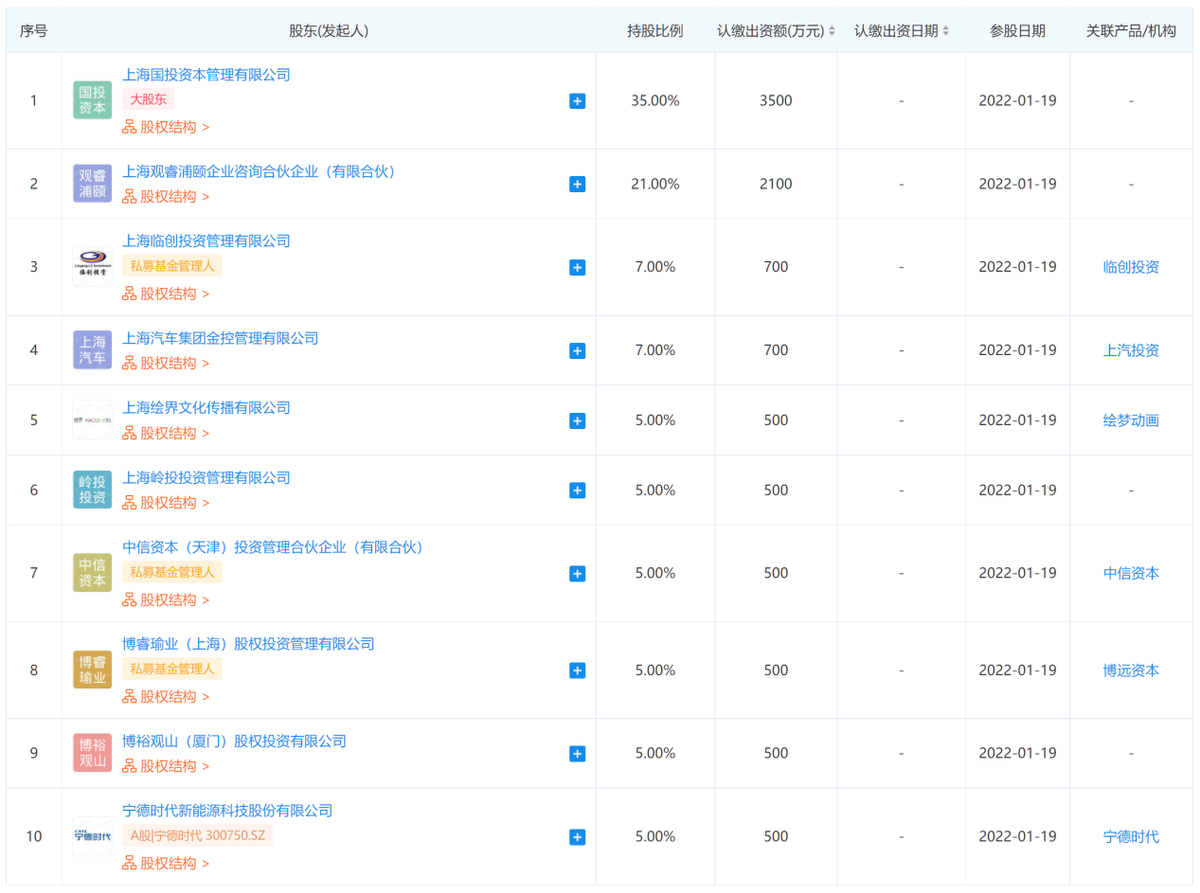
开年最强私募,当这个称号落在宁德时代和B站联手发起的孚腾基金身上时,市场投资风向的细微变化被更多人感知到了。实际上,上海孚腾私募基金管理有限公司这个名字的背后,还有上海国投资本、上汽集团全资子公司上汽金控、博裕资本旗下机构和中信资本旗下基金等。
阵容重磅之外,B站的投资一向引人关注,而与此前不同的是,并非战投部门直接出手,宁德时代在列更让人关注,大厂们开始联合资本机构,自己做基金了。一级市场投资的这些变化,还会继续衍生什么变数?
产业资本,投资生变
首先需要明确的一点是,都是行业巨头主导,相较于传统的投资动作,这一次诞生的私募基金有何区别?
答案的关键在于产业两个字。传统的PE体系中,行业巨头的身份要么是财务投资人,要么是以自身战投部门为基础,和其它机构协同合作投资。也就是说,传统体系或多或少会有一道阻隔。然而,本次由产业巨头联合其它财务投资人创立基金,自身就是管理者,将直面一线投资对象。
毫无疑问,产业资本更加了解某个特定细分行业的特点、需求和发展路线,由它们直接作为管理者,避免了传统投资里沟通成本过高的问题——主要出在创投机构-投资项目-产业资本这个链条的信息传递中,当产业资本距离一线项目过远,往往不能更及时有效地对一次投资的综合成效做出指导和协调。这也从侧面说明,像宁德时代这样的大厂做PE是经过了充分考虑的,确定拥抱投资的收益能盖过为此付出的综合管理成本。
另一方面,在字节裁撤战投部门、缩小投资布局的消息传出时,市场也担忧,传统互联网巨头的投资会发生怎样不可预测的变化。但实际上,从腾讯投资摩尔线程、燧原科技等硬科技企业的经历来思考,未来所属行业的头部公司有更大可能联合传统PE、腾讯阿里这样的公司走向更类似专业投资机构的模式。其中,产业资本主要起到项目识别、精准扶持、资源对接、生态建设的作用,而无论内部出资还是对外募资,合适的时候退出也会成为常态,以此避免资本的过度集中。
不过,这样的演变也并非保证成功,虽然产业资本更能洞察行业趋势和技术演进的精准方向,但最终的回报期要求上,还需要不同主体的意见协调。换句话说,产业资本可能愿意更长期的陪跑换取生态协同效益,也更理解产业建设的困难,但纯财务投资者的回报需求有可能更迫切。
为此,除了有钱之外,钱往哪投、怎么投将成为新一代混合型PE们关注的重点。以往的私募股权投资机构可以以不同投资部门划分投资方向,产业资本入驻后,其向心力会更强。
告别“海投”,好钢要用在刀刃上?
2021年9月,小鹏汽车传出入局VC、组建自有投资基金的消息,走大规模、独立募资、投融并举的路线。彼时市场猜测,它的路线很可能从产业链出发,向上下游延伸。
实际上,这也是新的投资选手们区别于互联网投资的一点。虽然互联网投资巨头,比如字节跳动,投资的方向依然可以总结为互联网,但各细分领域的差距实际上是很大的,更不用说包括腾讯等公司在内,还有餐饮等诸多方面的布局,堪称海投。
但产业资本是怎么做的呢?目前,宁德时代直接参与了超过70个项目的股权投资,主要领域包括生产制造、汽车交通、新能源汽车、新能源、大数据产业、电池电容、半导体和新材料等,基本都是围绕产业链上下游进行全方位布局。
另一家新能源车企,蔚来,关联公司是成立于2016年、独立于蔚来汽车的产业基金蔚来资本。蔚来资本诞生初期,就投资了首汽约车、嘀嗒出行等企业,布局了出行风口,后来陆续完善其资本版图,小马智行、Momenta等自动驾驶企业和奥动新能源、云快充等充换电服务企业也入了它的“法眼”——这也可以看出,蔚来资本的投资并不是单纯依附于蔚来,它并不只把目光放在换电。现在,据官网显示,蔚来资本的投资方向包含自动驾驶及智能化系统、车联网出行服务、新能源及能源互联网、电动汽车及核心零件、先进制造、企业服务等。
实际上,对本次宁德时代和B站的联手,市场有观点认为,B站的生活娱乐属性完全有能力和宁德时代在硬件方面的资源连接能力结合。而宁德时代入局换电、保险等多方面服务,展示了它对于新能源整体服务的野心。投资风向更添想象空间。
但一个很明确的结论是,在新能源领域,一大批专业投资者已经整装待发。它们的资金能力强于中小机构,又有深厚的行业背景,垂直于领域的创业公司有望迎来“更懂自己的人”。好钢用在刀刃上,这和产业资本的意向不谋而合。
唯一的问题是,这股专、精的风潮,是否会在更多行业有所蔓延?如果没有,那么在一些战投不活跃的领域,创业公司们可能还是只有等待创投机构的“空降”。也许,未来的创业形势也会随着资本的流动,强者愈强,弱者愈弱。
文|港股研究社(ganggushe)




粤公网安备 44010402000579号