一、证券市场回顾
同花顺数据显示,昨日(11月10日,下同),上证综指日内下跌0.39%,收于3036.13点,最高3047.98点;深证成指日内下跌1.33%,收于10908.55点,最高10979.71点;创业板指日内下跌1.76%,收于2357.13点,最高2393.61点。北向资金由上个交易日的流出6.84亿元提升至流出7.57亿元。
二、ETF市场表现
1、股票型ETF整体市场表现
昨日股票型ETF收益率中位数为-0.905%。其中按照不同分类,规模指数中汇添富中证中药ETF收益率最高,为0.28%;行业指数中华夏消费ETF收益率最高,为1.49%;策略指数中景顺长城中证红利低波动100ETF收益率最高,为0.38%;风格指数中华夏中证智选500价值稳健策略ETF收益率最高,为0.38%;主题指数中广发中证传媒ETF收益率最高,为2.72%。
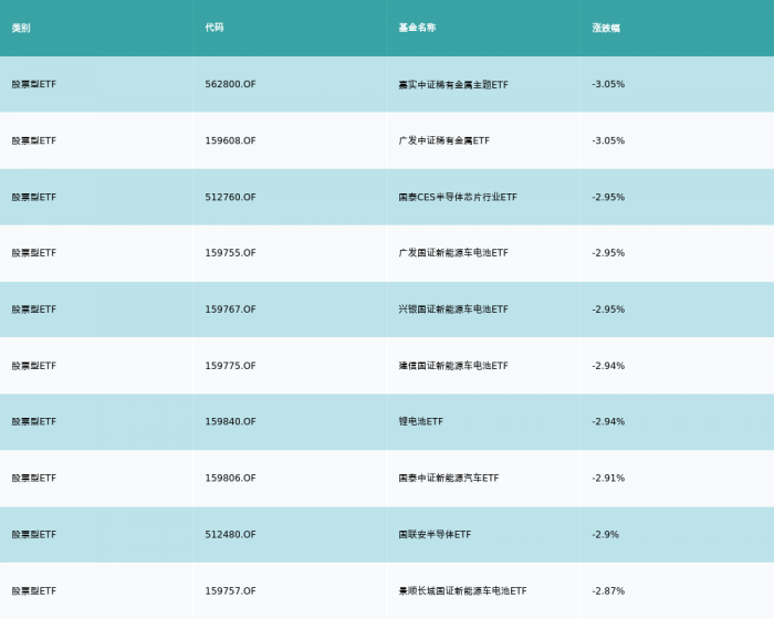
2、股票型ETF涨跌幅排行
昨日股票型ETF涨幅最高的3支ETF及其收益率分别为:广发中证传媒ETF(2.72%)、传媒ETF(2.7%)、华夏中证文娱传媒ETF(2.47%)。涨幅前10详情见下表:
昨日股票型ETF跌幅最大的3支ETF及其收益率分别为:嘉实中证稀有金属主题ETF(-3.05%)、广发中证稀有金属ETF(-3.05%)、国泰CES半导体芯片行业ETF(-2.95%)。跌幅前10详情见下表:
3、股票型ETF资金流向
昨日股票型ETF资金流入最多的3支ETF及其流入金额分别为:华夏上证50ETF(流入20.8亿元)、易方达创业板ETF(流入3.82亿元)、华夏上证科创板50成份ETF(流入3.71亿元)。资金流入前10详情见下表:
昨日股票型ETF资金流出最多的3支ETF及其流入金额分别为:华夏中证1000ETF(流出4.46亿元)、华泰柏瑞沪深300ETF(流出4.02亿元)、华夏中证新能源汽车ETF(流出3.33亿元)。资金流出前10详情见下表:

三、机构观点
①传媒行业将迎来情绪拐点 估值及业绩有望戴维斯双击
上海证券:传媒行业将迎来情绪拐点,估值及业绩有望戴维斯双击。宏观层面文化软实力有望成为国家核心竞争力之一,中观层面“政策底”开始确立,政策面持续边际向好,同时国家支持“虚拟现实”,下一代互联网有望带动传媒产业链及商业模式重塑,基本面有望持续向好。
持续看好未来互联网3.0时代的新机会,长期看好游戏行业基本面,短期政策扰动有望推动游戏行业厚积薄发。目前游戏公司股价受版号停发影响已经历深度回调,版号重新发放后行业确定性确立,已具备长期投资价值。
影视行业政策面出现积极变化,关注短期乐观情绪推动下相关标的的主题性机会以及长期影视行业商业模式及逻辑出现新变化的趋势。
②游戏板块有望从第四季度开始迎来业绩向上拐点
开源证券:随着2022年三季报披露接近尾声,市场或已充分反映游戏板块Q3业绩预期。着眼于2022年Q4及更长远,新一轮产品上线将成为板块业绩和估值的重要驱动力,近期新游戏发行明显加快,判断后续版号发放有望恢复正常节奏,随着头部游戏公司储备的核心产品拿到版号后陆续上线,叠加消费复苏等因素,游戏板块有望从2022年Q4开始迎来业绩向上拐点。

