

截至12月31日收盘,今日成交金额为6.74亿元,创新层成交金额为5.43亿元,基础层成交金额为1.32亿元;今日成交股数为13781.96万股,创新层成交股数为8020.44万股,基础层成交股数为5761.52万股。
新三板挂牌公司总计6932家(创新层1225家,基础层5707家),总股本4593.49亿股,流通股本2831.73亿股。
截至12月31日收盘,三板做市报1455.68点,上涨0.72%;三板成指报1138.22点,上涨0.69%;三板创新报1715.11点,上涨0.48%。
其中,数字人(835670)涨幅居首,上涨17.73%;同辉信息(430090)涨幅居次,上涨11.80%;大唐药业(836433)跌幅居首,下跌9.75%;梓橦宫(832566)跌幅居次,下跌6.58%。
— — — — — — — — — — — — — — — —
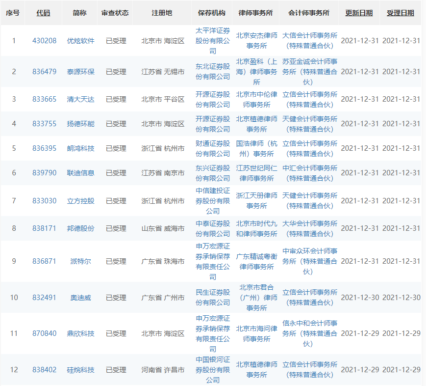
2021年接近尾声,12月31日,北交所迎来一小波“受理潮”,9家企业上市申请集体获受理。
9家公司分别为优炫软件、泰源环保、清大天达、扬德环能、朗鸿科技、联迪信息、立方控股、邦德股份、派特尔。
此前,12月29日北交所受理3家上市申请,12月30日受理2家。连续3日累计受理12家企业。
图片来源:北交所
截至12月31日,北交所共54家企业待审,其中“已受理”15家、“已问询”37家、“通过”2家。外加2家“注册”公司,目前北交所共56家处于申报排队中。
根据优炫软件披露的发行方案显示,优炫软件发行价区间为8.00 元/股-16.00 元/股。
优炫软件拟向不特定合格投资者公开发行股票不超过5001万股。发行对象范围为已开通北交所上市公司股票交易权限的合格投资者,法律、法规和规范性文件禁止认购的除外。
本次发行募集资金在扣除发行费用后,优炫软件将用于“数据库支撑服务中心项目”、“面向核心业务的数据库研发升级及产业化项目”。
优炫软件主营业务为数据库及生态应用产品和安全产品的研发、生产销售及服务,同时也为有需求的客户提供信息安全整体解决方案,客户遍及政府、金融、军工、能源、电信、教育、医疗等多个领域。
值得一提的是,优炫软件于今日刚刚通过辅导验收。
根据泰源环保披露的发行方案显示,泰源环保发行底价拟定位5.97元/股。
泰源环保拟向不特定合格投资者公开发行股票不超过1216万股。发行对象范围为已开通北交所上市公司股票交易权限的合格投资者,法律、法规和规范性文件禁止认购的除外。
本次发行募集资金在扣除发行费用后,泰源环保将用于“智能化生产线技改项目”、“研发中心升级项目”以及补充流动资金。
泰源环保主要从事环保技术的研发、环保设备的制造与销售、第三方运营等业务,装配式污水处理系统是公司最大的营收来源。
根据清大天达披露的发行方案显示,公司发行底价拟定为9.55元/股。
清大天达拟向不特定合格投资者公开发行股票不超过1200万股。发行对象范围为已开通北交所上市公司股票交易权限的合格投资者,法律、法规和规范性文件禁止认购的除外。
本次发行募集资金在扣除发行费用后,清大天达将用于“MEMS压力传感器封测关键技术研发项目”以及补充流动资金。
清大天达是一家专注于面板显示和MEMS传感器领域的自动化生产线设备制造商。
根据扬德环能披露的发行方案显示,公司发行底价拟定位3.70元/股。
泰源环保拟向不特定合格投资者公开发行股票不超过5000万股。发行对象范围为已开通北交所上市公司股票交易权限的合格投资者,法律、法规和规范性文件禁止认购的除外。
本次发行募集资金在扣除发行费用后,泰源环保将用于“瓦斯发电站建设运营项目”、“研发中心建设项目”以及补充流动资金。
泰源环保主营业务为低浓度瓦斯综合利用业务,目前,公司共取得了87项专利(其中发明专利6项)、26项软件著作权。
根据朗鸿科技披露的发行方案显示,公司发行底价拟定位18.10元/股。
朗鸿科技拟向不特定合格投资者公开发行股票不超过984.35万股。发行对象范围为已开通北交所上市公司股票交易权限的合格投资者,法律、法规和规范性文件禁止认购的除外。
本次发行募集资金在扣除发行费用后,朗鸿科技将用于“电子产品防盗设备产业化基地项目”以及补充流动资金。
朗鸿科技是一家手机防盗器、展示柜生产商,客户有华为、荣耀、OPPO、小米和三星等手机品牌商,大型连锁商超,以及全球电信运营商。
根据联迪信息披露的发行方案显示,公司发行价格区间为8元/股-24元/股。
联迪信息拟向不特定合格投资者公开发行股票不超过1566万股。发行对象范围为已开通北交所上市公司股票交易权限的合格投资者,法律、法规和规范性文件禁止认购的除外。
本次发行募集资金在扣除发行费用后,联迪信息将用于“应用软件交付体系及能力提升项目”、“数据中台技术平台研发项目”、“业务网络体系与信息化建设项目”以及补充流动资金。
联迪信息是专业的软件与信息技术服务提供商,为国际、国内客户提供各行业领域的计算机应用解决方案或者按照客户要求开发相关产品与应用系统。公司的客户广泛覆盖金融、证券、保险、政府、公共、电力、通信、传媒、汽车流通、移动互联、企业级应用、移动设备终端应用等诸多领域。
根据立方控股披露的发行方案显示,公司发行底价拟定为26元/股。
立方控股拟向不特定合格投资者公开发行股票不超过1652.20万股。发行对象范围为已开通北交所上市公司股票交易权限的合格投资者,法律、法规和规范性文件禁止认购的除外。
本次发行募集资金在扣除发行费用后,立方控股将用于“智慧物联产业基地建设项目”、“研发中心建设项目”以及补充流动资金。
立方控股主营业务是向客户提供人员和车辆出入口控制与管理产品的研发、生产、销售及持续服务,目前,公司产品已广泛应用在现代化的城市交通枢纽站、企事业单位、商业物业、住宅小区等场所。
根据邦德股份披露的发行方案显示,公司发行底价拟定为7.00元/股。
邦德股份拟向不特定合格投资者公开发行股票不超过2328.75万股。发行对象范围为已开通北交所上市公司股票交易权限的合格投资者,法律、法规和规范性文件禁止认购的除外。
本次发行募集资金在扣除发行费用后,邦德股份将用于“热交换器数字化生产项目(一期)”、“研发中心建设项目”以及补充流动资金。
邦德股份主要产品包括平行流式冷凝器、平行流式油冷器等系列,涵盖两千余类产品型号,并积极拓展中冷器、散热器(俗称水箱)等产品线,产品广泛应用于汽车冷却系统等热交换领域。
根据派特尔披露的发行方案显示,公司发行底价拟定为5.6元/股。
派特尔拟向不特定合格投资者公开发行股票不超过1777.6万股。发行对象范围为已开通北交所上市公司股票交易权限的合格投资者,法律、法规和规范性文件禁止认购的除外。
本次发行募集资金在扣除发行费用后,派特尔将用于“生产基地扩建设项目”、“研发中心建设项目”以及补充流动资金。
派特尔为工业软管及总成、汽车软管及总成的综合供应商,公司主营产品为PA管、树脂管、铁氟龙管、橡胶软管、PE管、PVC管、接头、尼龙改性材料、PC改性材料、PP改性材料及管类总成等。
— — — — — — — — — — — — — — — —
12月31日,北交所发布上市委员会2021年第4次审议会议结果公告,泓禧科技(871857)北交所申报材料获上市委会议通过。
图片来源:北交所
值得一提的是,在今日泓禧科技的审议会议中,委员会还向威贸电子提出问询,涉及公司外协生产、财务核算、境外子公司或关联公司、募投项目等方面的问题。
其中,北交所上市委要求泓禧科技补充说明外协厂商的生产设备是否归属于发行人所有,外协厂商在发行人生产经营中发挥的实际作用,是否仅提供劳务服务,是否属于劳务外包,相关生产线的设立是否履行了必要的审批和备案手续,外协厂商在环境保护、安全生产等方面是否涉及可能对发行人生产经营产生重大风险的事项。
泓禧科技主营业务为高精度电子线组件的设计、研发、生产和销售,公司的产品主要包括极细同轴线、极细铁氟龙线和电子线,公司产品主要应用于笔记本电脑、通讯、数码等产品领域。截至2021年6月30日,泓禧科技已取得专利33项,其中发明专利1项,实用新型专利32项。
泓禧科技的主要客户为知名笔记本电脑代工厂,公司产品最终应用于惠普、联想、戴尔、华硕、宏碁等知名电脑品牌。
此次冲刺北交所,泓禧科技计划募集资金1.5亿元。募集资金将用于“年产1,300万条高精度电子线组件建设项目”、“年产1,700万只新型”、“微型扬声器建设项目”及补充流动资金,
2021年前三季度,泓禧科技实现营业收入3.89亿元,同比增长20.20%;净利润为3034.49万元,同比增长9.72%。
— — — — — — — — — — — — — — — —
12月31日,扬德环能(833755)发布上市辅导验收完成的提示性公告。
图片来源:扬德环能公告
公告显示,扬德环能于2021年8月20日向北京证监局提交了辅导备案材料,辅导机构为开源证券。2021年8月26日,公司收到北京证监局出具的辅导备案登记确认文件,确认辅导登记日为2021年8月26日。
2021年12月31日,北京证监局出具的《关于对开源证券股份有限公司辅导工作的验收工作完成函》(京证监发〔2021〕2321号),确认完成开源证券对公司申请向不特定合格投资者公开发行股票并在北交所上市辅导工作的验收。
2020年,扬德环能经审计的归属于挂牌公司股东的净利润为6204.88万元,加权平均净资产收益率为9.61%,符合《上市规则》第2.1.3条规定的在北交所上市的财务条件。
扬德环能是一家分布式能源综合服务商。公司主营业务为低浓度瓦斯综合利用业务,具体包括低浓度瓦斯发电、瓦斯综合利用装备研发制造及技术服务、超低浓度瓦斯氧化供热等业务。目前,公司共取得了 87 项专利(其中发明专利 6 项)、26 项软件著作权。


