如果我提“爱驰汽车”,你有印象吗?
这家成立6年的造车新势力,还没等到与蔚小理正面交锋,就已经连工资都发不出了。
爱驰汽车虽然没啥存在感,但背后有着大金主——腾讯、宁德时代。伴随行业洗牌加速,它走到了悬崖边。
发不出工资
4月10日,有消息称,爱驰汽车内部发布了《关于三月工资延迟发放的通知》。
通知显示,因“客观原因”,公司不得不做出三月工资延迟发放的决定,但会正常缴纳社保和公积金。
至于要延迟多久,通知并未说明。一份邮件透露出爱驰汽车的窘境。
而面对媒体的求证,其仍体面地表示:“工资延迟发放,但公司运营正常”。
实际上,爱驰汽车的危机早已显露。
2020年,爱驰汽车接连被曝减资、欠薪、拖欠供应商款项;2021年又延发当年10月的工资。
据媒体报道,知情人士称,到了2022年年底,公司已停止招聘,并暂停支付所有供应商货款。今年以来,不断有供应商跑到公司楼下拉横幅,追要欠款。
欠薪来临,无非就是没钱了。跟大多新势力一样,爱驰汽车深陷亏损。
据媒体报道,2018年,爱驰汽车营业收入为3319万元,净利润亏损9.7亿元;2019年一季度,爱驰汽车营业收入为37万元,净利润亏损2.54亿元。
截至2019年3月31日,其资产总额为24.68亿元,负债总额为24.07亿元,净资产为6316万元,资产负债率高达97.5%。
至于近三年,其并未公开数据。不过,反观蔚小理等新势力越卖越亏,爱驰汽车大概不会成为例外。
腾讯、宁王撑腰也不管用
爱驰汽车成立于2017年,创始人是付强,一个在车圈浸润多年的操盘手。
其是吉林工业大学汽车专业工学硕士毕业,曾在一汽-大众、上汽柯斯达、北京奔驰工作, 历任沃尔沃中国的总裁兼首席执行官、中国区高管委员会成员、全球副总裁。
付强28年的车企工作经验,让爱驰汽车在新势力的造车团队中脱颖而出。他曾表示“新势力造车团队没人比我们牛”。
靠谱的创始人背景,帮助爱驰顺利得到融资。
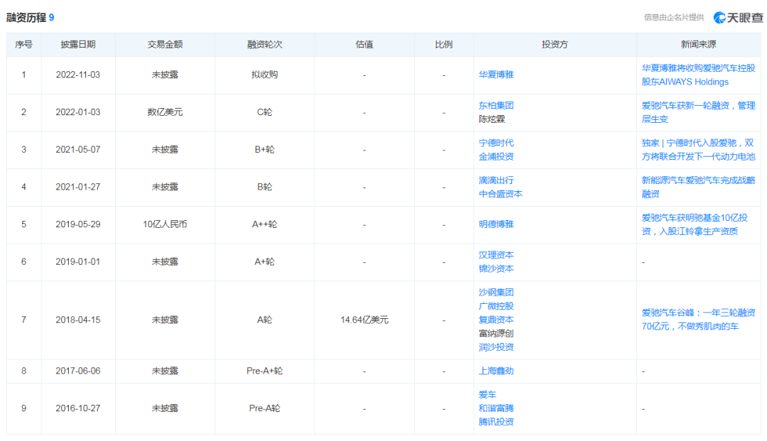
天眼查显示,截至目前,爱驰汽车一共完成9轮融资,投资方有腾讯投资、宁德时代等知名企业。据公开信息披露,爱驰汽车累计融资超百亿元。
来源:天眼查APP
尽管被资本看好,但爱驰汽车的发展并不顺利。
其目前发布了2款车型,都是纯电动SUV。首款量产车型是爱驰U5,价格在21万以上。另一款是爱驰U6,目前尚未交付。
两款车长这样:
左为爱驰U5,右为爱驰U6 在国内,爱驰汽车几乎没有存在感。其在2020年初开始交付,近三年分别交付2600辆、3011辆、830辆,3年累计卖不到1万。对比其他新势力月销1万的常态,爱驰汽车销量实属惨淡。
这几千的销量还有些水分。其曾被曝有“高管带货”及“全员营销”的方案,卖车是员工的绩效。
或许是知道国内竞争激烈, 爱驰汽车另辟蹊径,以海外市场为主战场。截至2022年11月,其登陆超20个国家和地区,累计实现海外销售6464辆车。
汽车质量不佳,管理层换血不稳定
步入2023年,爱驰汽车连工资都发不出来,发展成这样,背后原因有很多。
首先是其汽车质量堪忧。爱驰U5在汽车安全认证权威机构E-NCAP的测试中,仅获得三星。
测试结果显示,柱碰测试,驾驶位假人头部受到重创;自动驾驶方面,得分率仅为55%,其中速度辅助试验满分3分,仅拿到0.3分,评级为弱。
安全性存疑,爱驰汽车难得消费者信任。
其次是,爱驰汽车出生较晚,还花了两年时间拿到造车资质。
当蔚小理在新能源汽车市场打得火热时,爱驰U5姗姗来迟,还没能成爆款,很难继续吸引消费者的目光。
同时,资金问题似乎长期困扰爱驰汽车。有消息称其欲“反向借壳”赴美上市、冲击科创板,透露出对资金需求的急切。
另外,公司在谋求融资时还引起了管理层的震荡。
2022年,此前多次投资爱驰汽车的陈炫霖及其旗下的东柏集团,再次向爱驰汽车投入数亿元。伴随新资金的注入,陈炫霖成功“入主”爱驰汽车,引起公司管理团队的变化。
去年7月,创始人付强卸任法定代表人、董事长,由陈炫霖接任,原管理团队也纷纷退出。
据了解,陈炫霖家族曾以172.0亿元身家财富,位列《2020新财富500富人榜》。陈炫霖的空降,算是给爱驰汽车资金希望。
但好景不长。今年初,有消息透露,陈炫霖因所在投资机构暴雷滞留海外,所持爱驰股份也被冻结,最终任职不到5月就卸任了。这再次引发人事变动。
管理层的变化,为爱驰汽车的发展带来了不稳定的因素。
结语
半年来,多家新势力出现停工停产、欠薪、暂停接单、拖欠供应商款项等情况,在造车路上,自游家、天际汽车、威马、前途汽车等车企,基本算是按下了暂停键。
如今,爱驰汽车一边欠薪一边说运营正常,和自游家深陷负面的表现如出一辙,恐怕被淘汰的危机已经来了。
随着车企竞争加剧,新能源汽车行业洗牌加速,相信爱驰不会是最后一家被曝欠薪的车企。而那些还没能在市场上拿下一亩三分地的新势力,现在都要小心了。

