一、证券市场回顾
同花顺数据显示,昨日(2月5日,下同),上证综指日内下跌1.02%,收于2702.18点,最高2739.74点;深证成指日内下跌1.13%,收于7964.71点,最高8171.76点;创业板指日内上涨0.79%,收于1562.61点,最高1600.33点。北向资金由上个交易日的流入23.6亿元降低至流入12.11亿元。
二、ETF市场表现
1、股票型ETF整体市场表现
昨日股票型ETF收益率中位数为-0.71%。其中按照不同分类,规模指数中嘉实富时中国A50ETF收益率最高,为1.93%;行业指数中易方达沪深300医药ETF收益率最高,为2.13%;策略指数中华夏创业板低波价值ETF收益率最高,为2.35%;风格指数中华夏中证智选300成长创新策略ETF收益率最高,为1.07%;主题指数中平安中证医疗创新ETF收益率最高,为2.19%。
2、股票型ETF涨跌幅排行
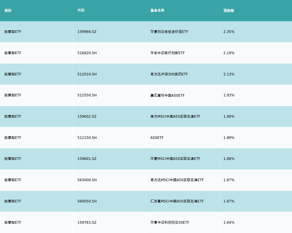
昨日股票型ETF涨幅最高的3支ETF及其收益率分别为:华夏创业板低波价值ETF(2.35%)、平安中证医疗创新ETF(2.19%)、易方达沪深300医药ETF(2.13%)。涨幅前10详情见下表:
昨日股票型ETF跌幅最大的3支ETF及其收益率分别为:2000增强ETF(-9.69%)、平安中证2000增强策略ETF(-9.66%)、广发中证2000ETF(-9.58%)。跌幅前10详情见下表:
3、股票型ETF资金流向
昨日股票型ETF资金流入最多的3支ETF及其流入金额分别为:南方中证500ETF(流入130.85亿元)、南方中证1000ETF(流入72.11亿元)、华夏沪深300ETF(流入59.13亿元)。资金流入前10详情见下表:
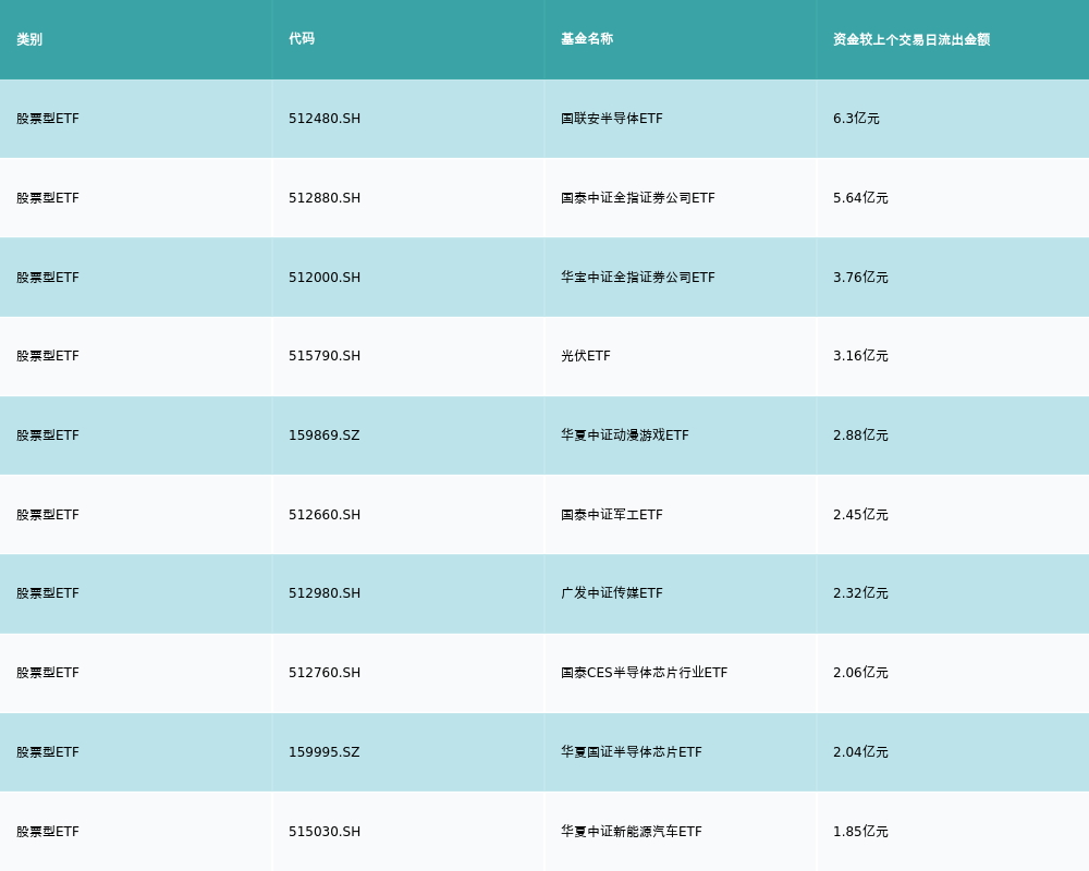
昨日股票型ETF资金流出最多的3支ETF及其流入金额分别为:国联安半导体ETF(流出6.3亿元)、国泰中证全指证券公司ETF(流出5.64亿元)、华宝中证全指证券公司ETF(流出3.76亿元)。资金流出前10详情见下表:

三、机构观点
华金证券:医药板块短期有望迎来阶段性反弹
华金证券指出,短期来看,受市场整体调整,医药板块短期超跌,有望迎来阶段性反弹。另一角度,一月份逐步进入业绩预告期,仍然建议配置中药、线下药店、血制品等业绩稳健低估值子板块。长期来看,当前板块处于筑底阶段,无论从估值角度、涨跌幅角度等都处于低位。行业基本面需求端稳定向好,行业生态不断优化,在2024年年度策略中依旧看好的是以成长为代表的创新药,创新器械。
东海证券:医药板块中长期投资价值显著
东海证券认为,当前医药板块处于多重底部区间,近期的非理性快速下跌,使得板块底部进一步得到夯实,中长期投资价值显著。一方面,建议关注高景气细分赛道、成长性良好、一季报有望超预期的相关细分板块及个股;另一方面,建议关注低估值高股息、有央国企市值管理预期的相关细分板块及个股。

