一、证券市场回顾
同花顺数据显示,昨日(07月06日,下同),上证综指日内下跌1.43%,收于3355.35点,最高3391.03点;深证成指日内下跌1.25%,收于12811.33点,最高12997.41点;创业板指日内下跌0.79%,收于2802.72点,最高2858.05点。北向资金由上个交易日的流出13.48亿元提升至流出13.83亿元。
二、ETF市场表现
1、股票型ETF整体市场表现
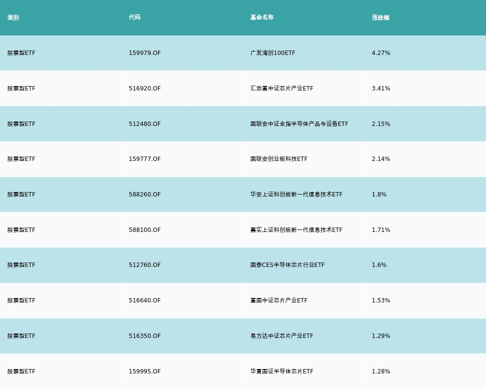
昨日股票型ETF收益率中位数为-1.23%。其中按照不同分类,规模指数中易方达上证科创板50ETF收益率最高,为1.25%;行业指数中国联安创业板科技ETF收益率最高,为2.14%;策略指数中西部利得创业板大盘ETF收益率最高,为-0.55%;风格指数中华夏创成长ETF收益率最高,为-0.71%;主题指数中广发湾创100ETF收益率最高,为4.27%。
2、股票型ETF涨跌幅排行
昨日股票型ETF涨幅最高的3支ETF及其收益率分别为:广发湾创100ETF(4.27%)、汇添富中证芯片产业ETF(3.41%)、国联安中证全指半导体产品与设备ETF(2.15%)。涨幅前10详情见下表:
昨日股票型ETF跌幅最大的3支ETF及其收益率分别为:汇添富中证能源ETF(-5.86%)、广发中证全指能源ETF(-4.8%)、国联安上证商品ETF(-4.33%)。跌幅前10详情见下表:
3、股票型ETF资金流向
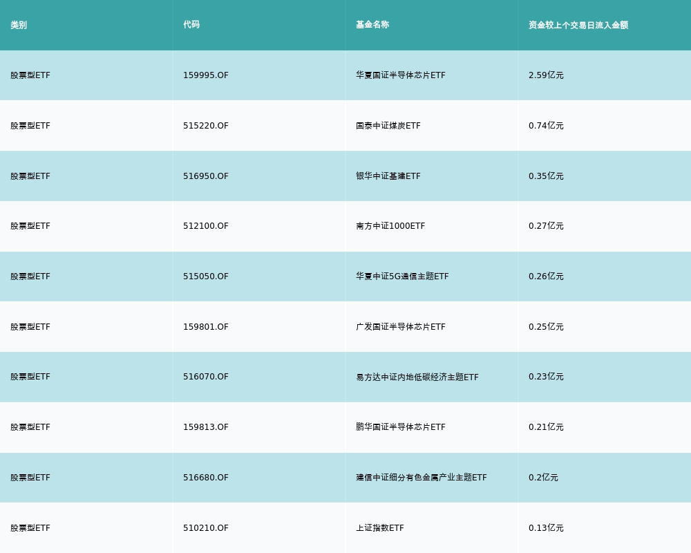
昨日股票型ETF资金流入最多的3支ETF及其流入金额分别为:华夏国证半导体芯片ETF(流入2.59亿元)、国泰中证煤炭ETF(流入0.74亿元)、银华中证基建ETF(流入0.35亿元)。资金流入前10详情见下表:
昨日股票型ETF资金流出最多的3支ETF及其流入金额分别为:华泰柏瑞沪深300ETF(流出5.13亿元)、华泰柏瑞上证红利ETF(流出4.54亿元)、南方中证500ETF(流出3.88亿元)。资金流出前10详情见下表:
三、机构观点
1. 模拟芯片产业下游布局广泛,关注产业在汽车领域进展
西部证券认为,消费电子需求走弱对模拟芯片公司业绩有一定影响,但下游布局广泛且料号丰富的公司将展现业绩韧性。西部证券梳理了国内模拟芯片公司在汽车领域的进展,整体而言国内模拟厂商汽车电子收入占比都不大,但已有厂商个别料号实现了批量供货,建议重点关注在汽车领域有所突破的模拟芯片公司。
2. 半导体国产化比率提升,增加我国产业供应链安全性
天风证券认为,坚定看好半导体全年的结构性行情,看好国产化穿越周期。半导体产业链各环节国产化比率的提升将大幅增加我国半导体产业的供应链安全性,重点看好半导体国产化穿越周期的机会,相关国产半导体厂商有望在全球半导体行业中体现出更强的成长性。
3. 3000亿元金融债券发行,基建行业有望持续受益
长城证券指出,6月29日,国务院常务会议决定,运用政策性、开发性金融工具,通过发行金融债券等筹资3000亿元。今年专项债发行额度大、节奏快,基建作为重点投向领域,有望持续受益。
(风险提示:历史数据不代表未来业绩,本报告涉及基金不构成投资建议,投资需谨慎。)







粤公网安备 44010402000579号