日前,山西证监局连下6份罚单,成立28年的老牌投顾机构慧研智投及5名员工领罚,直指其在被责令暂停新增客户措施期间变相新增客户的行为。
暂停新增客户期间变相新增客户
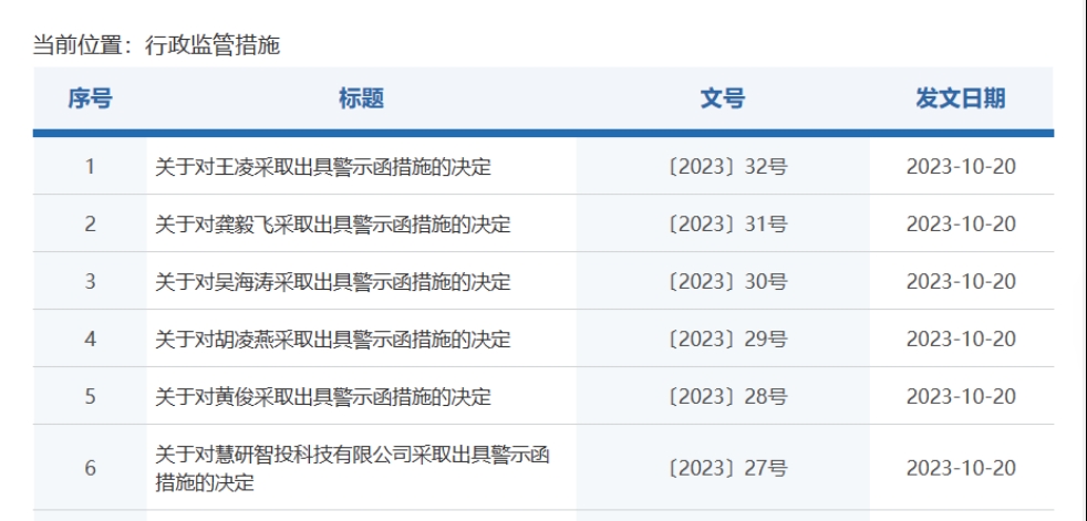
10月20日,山西证监局公告,对慧研智投科技有限公司(简称“慧研智投”)及公司5名员工采取出具警示函措施。

山西证监局称,经查,慧研智投在被采取责令暂停新增客户措施期间变相新增客户,反映出公司内部控制不健全,合规管理不到位。上述行为违反了《证券投资顾问业务暂行规定》第三条的规定,山西证监局决定对该公司采取出具警示函的监督管理措施,并记入证券期货市场诚信档案。
根据《证券投资顾问业务暂行规定》,证券公司、证券投资咨询机构从事证券投资顾问业务,应当遵守法律、行政法规和本规定,加强合规管理,健全内部控制,防范利益冲突,切实维护客户合法权益。
与此同时,公司相关管理人员也受到了追责。山西证监局认为,对于上述违规行为,董事长黄俊、总经理胡凌燕、合规总监王凌以及2位副总经理龚毅飞、吴海涛,负有主要责任。对于这5人,山西证监局分别采取出具警示函的监督管理措施,记入证券期货市场诚信档案。
此外,慧研智投及上述5名相关管理人员均须在10月31日前向山西证监局提交书面报告。山西证监局还提醒该公司关注公司客户情况、内部控制及合规管理,并及时采取完善公司内部控制、加强合规管理等措施。
投资咨询机构违规行为监管趋严
公开信息显示,慧研智投科技有限公司最早成立于1995年,1998年获得经营证券期货业务许可证,是我国早期获得监管批准的证券投资咨询公司之一。
值得一提的是,慧研智投历史上曾数次更名,2012年2月,公司更名为深圳君银证券投资咨询顾问有限公司(君银投顾),又于2018年4月变更为民众证券投资咨询有限公司(民众投顾),今年6月又由“民众投顾”又变更为“慧研智投”。
今年1月,湖南证监局对民众证券投资咨询有限公司长沙分公司采取责令改正、暂停新增客户1年的监管措施。据悉,该分公司存在未按规定报告业务场所变化情况、监管报表中填报的数据资料存在不实陈述、内部控制管控不到位、员工冒名展业、证券投资顾问服务环节执业不规范、证券投资顾问业务推广环节存在误导性宣传、承诺收益、推广环节留痕管理不到位等问题。
更早之前,2021年民众投顾苏州分公司、广东分公司等均曾被属地证监局采取暂停新增客户的行政监管措施。
事实上,监管部门一直在加强对于证券投资咨询业务的执业规范管理,惩处力度也在不断加强。今年以来,各地证监局针对证券投资咨询机构及从业人员的违规行为,开出的罚单已逾40张。从违规类型来看,不当营销宣传、违规承诺收益、业务人员不适格、内控管理机制不健全、留痕管理不规范是投资咨询机构的几大通病。被重罚的机构,往往几大违规事项并存。
还有不少机构被责令暂停新增客户,时间从6个月到1年不等。比如,今年6月,北京中方信富投资管理咨询公司由于使用自媒体微信公众号开展证券投资顾问业务推广,合规管理不足,未实行留痕管理等问题,被监管责令暂停新增客户6个月。
证监会10月最新公布的证券投资咨询机构名录显示,截至2023年9月底,共有15家证券投资咨询机构(含分公司)被采取暂停新增客户的行政监管措施且处于整改期。其中,巨丰投资、民众投顾各有两家分公司上榜。
(来源:证券时报·券商中国)

