一、证券市场回顾
同花顺数据显示,昨日(1月3日),上证综指日内上涨0.17%,收于2967.25点,最高2971.28点;深证成指日内下跌0.75%,收于9330.86点,最高9405.09点;创业板指日内下跌1.14%,收于1834.73点,最高1856.44点。北向资金由上个交易日的流出52.69亿元转变成流入16.89亿元。
二、ETF市场表现
1、股票型ETF整体市场表现
昨日股票型ETF收益率中位数为-0.33%。其中按照不同分类,规模指数中博时上证超大盘ETF收益率最高,为0.31%;行业指数中广发中证全指电力ETF收益率最高,为1.5%;策略指数中华泰柏瑞上证红利ETF收益率最高,为1.36%;风格指数中小盘价值收益率最高,为0.73%;主题指数中能源ETF收益率最高,为1.21%。

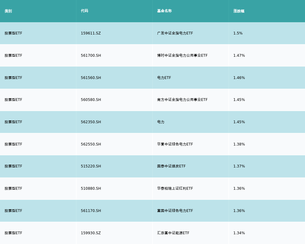
2、股票型ETF涨跌幅排行
昨日股票型ETF涨幅最高的3支ETF及其收益率分别为:广发中证全指电力ETF(1.5%)、博时中证全指电力公用事业ETF(1.47%)、电力ETF(1.46%)。涨幅前10详情见下表:

昨日股票型ETF跌幅最大的3支ETF及其收益率分别为:华富中证人工智能产业ETF(-3.01%)、易方达中证人工智能主题ETF(-2.77%)、平安人工智能ETF(-2.74%)。跌幅前10详情见下表:
3、股票型ETF资金流向
昨日股票型ETF资金流入最多的3支ETF及其流入金额分别为:红利LV(流入4.75亿元)、景顺长城中证红利低波动100ETF(流入4.07亿元)、华夏上证50ETF(流入2.42亿元)。资金流入前10详情见下表:
昨日股票型ETF资金流出最多的3支ETF及其流入金额分别为:华泰柏瑞沪深300ETF(流出8.2亿元)、广发中证1000ETF(流出5.1亿元)、南方中证500ETF(流出4.6亿元)。资金流出前10详情见下表:

三、机构点睛
1. 东吴证券:电力资产迎来定位与模式的转变
东吴证券研报指出,电力资产迎来定位与模式的转变,带动资产价值长期回升。1)火电盈利稳定性提升:从基础电源转变为基础电源+调节电源,商业模式不再仅仅依托电量价值,体现容量价值、灵活性价值;2)水电低成本受益市场化:最稀缺的低碳能源开发加速,成本低市场化趋势下电价有弹性;3)核电成长确定,远期盈利提升:基荷电源装机有序推进,锁定确定成长,资本开支见顶分红与ROE双升;4)绿电成长突出,市场化驱动寻找盈利锚:绿电成为主力供电电源,成长性突出,关注占比提升中系统成本的提升与疏导。
2. 国信证券:电网投资延续高景气
国信证券认为,2024年电网投资延续高景气。2023年国家电网完成“4直2交”特高压设备招标,中标金额达403亿元,同比+1073%,我们预计24-25年特高压招标有望维持高位。23年国网输变电设备中标金额达678亿元,同比+35%。2023年1-11月全国电网工程投资完成额4458亿元,同比+6%,24-25年有望迎来设备交付高峰。2024年特高压柔性直流项目有望启动招标,海风柔直送出有望迎来需求拐点,带动换流阀价值量大幅提升。

